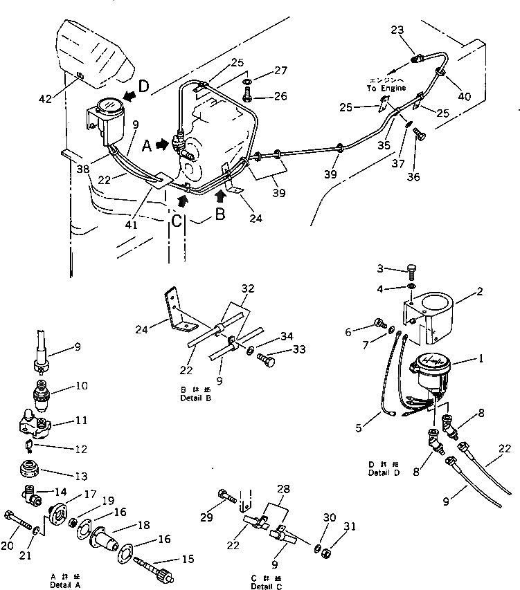
Запчасти Komatsu WA350-1 ТАХОГРАФ (ДЛЯ КАБИНА ДЛЯ 2 ЧЕЛ.)(№-9999) СПЕЦ. APPLICATION ЧАСТИ

Схема запчастей Komatsu WA350-1 - ТАХОГРАФ (ДЛЯ КАБИНА ДЛЯ 2 ЧЕЛ.)(№-9999) СПЕЦ. APPLICATION ЧАСТИ
FIT
1:1
100%

Артикул

Название

Примечание

Количество

1

416-Z21-1210

TACHOGRAPH

SN: 10001-@

1шт.

2

423-Z21-1150

BOX

SN: 10001-@

1шт.

3

01010-51020

BOLT

SN: 10001-19999

3шт.

4

01643-31032

WASHER

SN: 10001-19999

3шт.

5

416-Z21-1280

WIRE ASS'Y

SN: 10001-@

1шт.

6

01220-40510

SCREW

SN: 10001-@

1шт.

7

01641-20508

WASHER

SN: 10001-@

1шт.

8

232-806-8260

JOINT,GEAR

SN: 10001-@

2шт.

9

423-Z21-1110

CABLE

SN: 10001-19999

1шт.

10

232-06-27100

ADAPTER

SN: 10001-@

1шт.

11

416-Z21-1260

JOINT,GEAR

SN: 10001-@

1шт.

12

236-14-11150

KEY

SN: 10001-@

1шт.

13

236-14-11160

NUT

SN: 10001-@

1шт.

14

41B-Z20-1110

ADAPTER

SN: 10001-@

1шт.

15

232-15-13421

SHAFT

SN: 10001-@

1шт.

16

232-15-13450

GASKET

SN: 10001-@

2шт.

17

232-15-13440

FLANGE

SN: 10001-@

1шт.

18

232-15-13430

BUSHING

SN: 10001-@

1шт.

19

130-09-11590

SEAL,OIL

SN: 10001-@

1шт.

20

01010-50630

BOLT

SN: 10001-@

4шт.

21

01602-20619

WASHER,SPRING

SN: 10001-@

4шт.

22

423-Z21-1120

CABLE

SN: 10001-19999

1шт.

23

6136-81-5210

ADAPTER

SN: 10001-@

1шт.

24

423-Z21-1130

PLATE

SN: 10001-19999

1шт.

25

423-Z21-1140

PLATE

SN: 10001-19999

3шт.

26

01010-51225

BOLT

SN: 10001-19999

1шт.

27

01643-31232

WASHER

SN: 10001-19999

1шт.

28

424-06-12720

CLIP

SN: 10001-@

2шт.

29

01010-51025

BOLT

SN: 10001-19999

1шт.

30

01643-31032

WASHER

SN: 10001-19999

2шт.

31

01580-11008

NUT

SN: 10001-19999

1шт.

32

424-06-12720

CLIP

SN: 10001-19999

2шт.

33

01010-51025

BOLT

SN: 10001-19999

1шт.

34

01643-31032

WASHER

SN: 10001-19999

1шт.

35

424-06-12720

CLIP

SN: 10001-19999

3шт.

36

01010-51020

BOLT

SN: 10001-19999

3шт.

37

01643-31032

WASHER

SN: 10001-19999

3шт.

38

08034-00414

BAND

SN: 10001-@

1шт.

39

08034-00519

BAND

SN: 10001-@

6шт.

40

08034-00823

BAND

SN: 10001-@

1шт.

41

418-Z21-1110

SHEET

SN: 10001-@

1шт.

42

421-54-15520

CLIP

SN: .-@

1шт.

Выбрано товаров: 42