Запчасти Komatsu WA350-1 КАБИНА (ДЛЯ -PERSONS) (/8)(№-.) СПЕЦ. APPLICATION ЧАСТИ

Схема запчастей Komatsu WA350-1 - КАБИНА (ДЛЯ -PERSONS) (/8)(№-.) СПЕЦ. APPLICATION ЧАСТИ
FIT
1:1
100%

Артикул

Название

Примечание

Количество

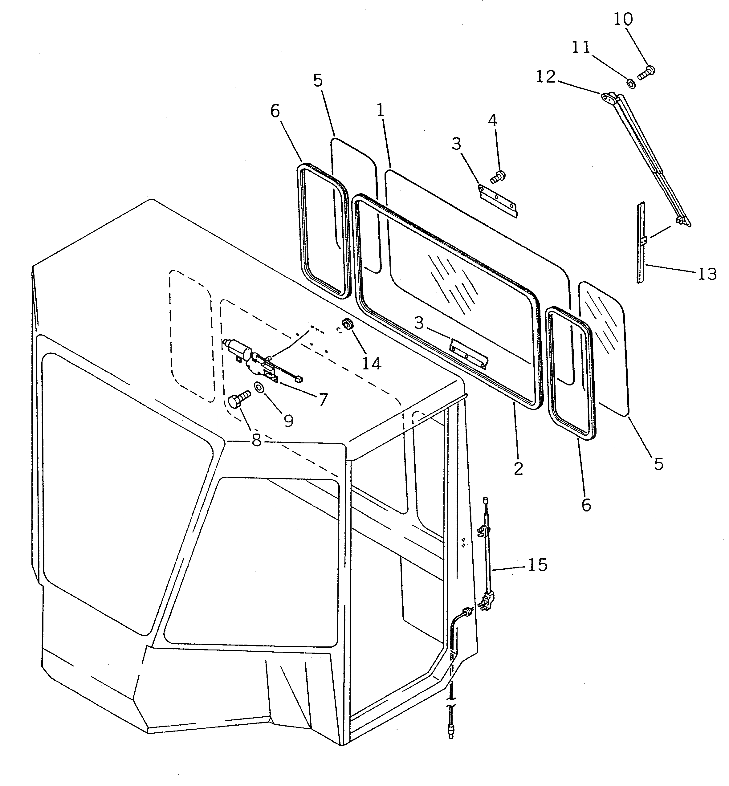
|1

419-923-1010

OPERATOR'S CAB ASS'Y

SN: 10001-.

1шт.

1

419-923-1130

GLASS

SN: 10001-@

1шт.

2

419-923-1150

STRIP,WEATHER

SN: 10001-@

1шт.

3

425-54-15780

PLATE

SN: 10001-.

2шт.

4

01370-00406

SCREW

SN: 10001-.

6шт.

5

419-923-1140

GLASS

SN: 10001-@

2шт.

6

419-923-1160

STRIP,WEATHER

SN: 10001-@

2шт.

7

417-54-15140

MOTOR,WIPER

SN: 10001-.

1шт.

8

01010-50816

BOLT

SN: 10001-@

2шт.

9

01643-30823

WASHER

SN: 10001-@

2шт.

10

01220-40516

SCREW

SN: 10001-@

1шт.

11

01641-20508

WASHER

SN: 10001-@

1шт.

12

425-54-15320

ARM,WIPER

SN: 10001-@

1шт.

13

419-923-1280

BLADE,WIPER

SN: 10001-@

1шт.

14

09415-00506

CAP

SN: 10001-@

1шт.

15

201-06-21420

ANTENNA

SN: 10001-@

1шт.

Выбрано товаров: 16