Запчасти Komatsu WA350-1 КАБИНА (ДЛЯ -PERSONS) (/8)(№-99999) СПЕЦ. APPLICATION ЧАСТИ

Схема запчастей Komatsu WA350-1 - КАБИНА (ДЛЯ -PERSONS) (/8)(№-99999) СПЕЦ. APPLICATION ЧАСТИ
FIT
1:1
100%

Артикул

Название

Примечание

Количество

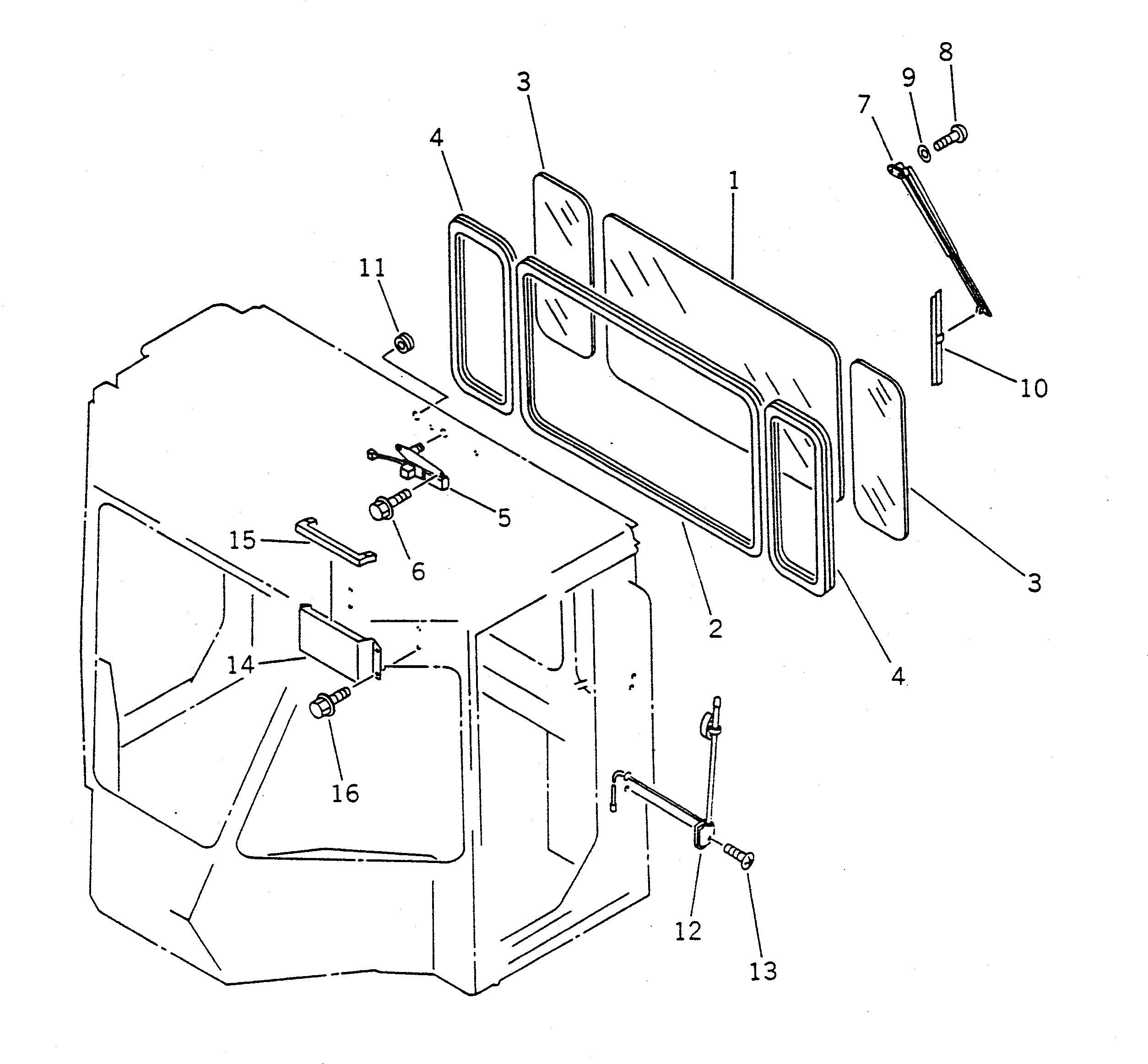
|1

418-923-1001

OPERATOR'S CAB ASS'Y,(FOR 2-LAMP TYPE)

SN: 20587-UP

1шт.

|1

0

OPERATOR'S CAB ASS'Y

SN: 20001-UP

1шт.

1

418-923-1170

GLASS

SN: 20001-UP

1шт.

2

418-923-1230

STRIP,WEATHER

SN: 20001-UP

1шт.

3

418-923-1180

GLASS

SN: 20001-UP

2шт.

4

418-923-1240

STRIP,WEATHER

SN: 20001-UP

2шт.

5

417-54-15142

MOTOR,WIPER

SN: 20001-UP

1шт.

6

01435-00812

BOLT

SN: 20001-UP

2шт.

7

425-54-15321

ARM,WIPER

SN: 20001-UP

1шт.

8

01220-40516

SCREW

SN: 10001-UP

1шт.

9

01641-20508

WASHER

SN: 10001-UP

1шт.

10

419-923-1290

BLADE,WIPER

SN: ..-UP

1шт.

11

09415-00506

CAP

SN: 10001-UP

1шт.

12

201-06-21420

ANTENNA

SN: 10001-UP

1шт.

13

01220-40425

SCREW

SN: 20001-UP

3шт.

14

419-923-1330

BOX

SN: .-UP

1шт.

15

419-923-1340

FINISHER

SN: .-UP

1шт.

16

01435-00816

BOLT

SN: 20001-UP

4шт.

Выбрано товаров: 18