Запчасти Komatsu WA350-1 КАБИНА (ДЛЯ -PERSONS) (/8)(№-99999) СПЕЦ. APPLICATION ЧАСТИ

Схема запчастей Komatsu WA350-1 - КАБИНА (ДЛЯ -PERSONS) (/8)(№-99999) СПЕЦ. APPLICATION ЧАСТИ
FIT
1:1
100%

Артикул

Название

Примечание

Количество

|1

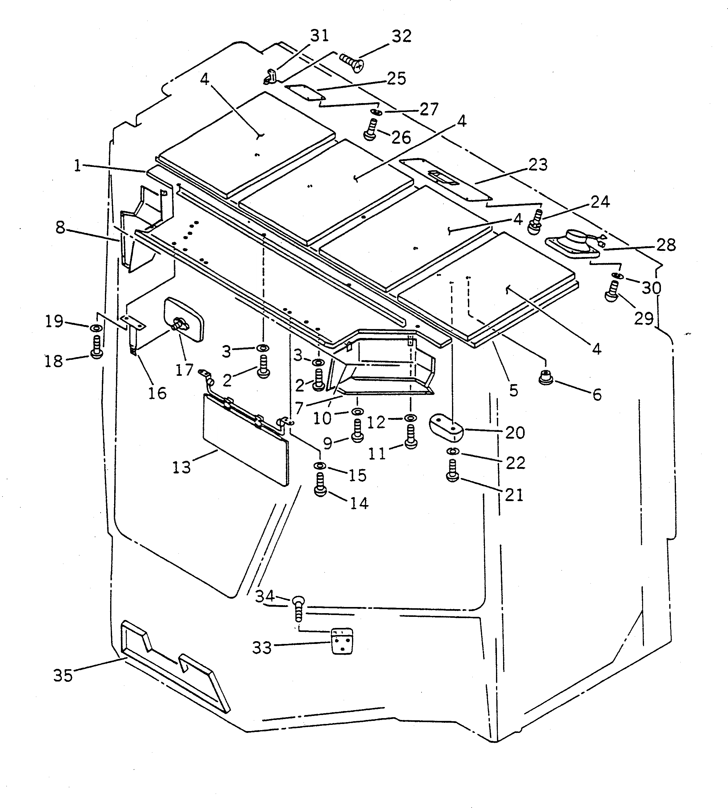
418-923-1001

OPERATOR'S CAB ASS'Y,(FOR 2-LAMP TYPE)

SN: 20587-UP

1шт.

|1

0

OPERATOR'S CAB ASS'Y

SN: 20001-UP

1шт.

1

418-923-1360

COVER,CENTER

SN: 20001-UP

1шт.

2

01225-40516

SCREW

SN: 20001-UP

5шт.

3

421-54-15790

WASHER

SN: 20001-UP

5шт.

4

418-923-1340

INSULATOR

SN: 20001-UP

4шт.

5

418-923-1350

PAD

SN: 20001-UP

1шт.

6

09416-10000

BUTTON

SN: 20001-UP

5шт.

7

418-923-1380

COVER,L.H.

SN: 20001-UP

1шт.

8

418-923-1410

COVER,R.H.

SN: 20001-UP

1шт.

9

01225-40516

SCREW

SN: 20001-UP

4шт.

10

421-54-15790

WASHER

SN: 20001-UP

4шт.

11

01220-40610

SCREW

SN: 20001-UP

4шт.

12

01642-20608

WASHER

SN: 20001-UP

4шт.

13

419-56-11251

SUN VISOR

SN: 20001-UP

1шт.

14

01220-40516

SCREW

SN: 20001-UP

4шт.

15

01641-20508

WASHER

SN: 20001-UP

4шт.

16

419-56-11271

STAY

SN: 20001-UP

1шт.

17

419-56-11260

MIRROR,ROOM

SN: 20001-UP

1шт.

18

01225-40516

SCREW

SN: 20001-UP

2шт.

19

421-54-15790

WASHER

SN: 20001-UP

2шт.

20

08141-12400

LAMP,ROOM

SN: .-UP

1шт.

|20

08116-02410

BULB¤ 10W

SN: 10001-UP

1шт.

21

01220-40412

SCREW

SN: 10001-UP

2шт.

22

01601-20410

WASHER,SPRING

SN: 10001-UP

2шт.

23

418-923-1310

COVER

SN: 20001-UP

1шт.

24

419-923-1830

SCREW

SN: 20001-UP

5шт.

25

417-54-15270

PLATE

SN: 20001-UP

1шт.

26

01220-40520

SCREW

SN: 20001-UP

4шт.

27

01601-20513

WASHER,SPRING

SN: 20001-UP

4шт.

28

205-06-62320

SPEAKER

SN: 10001-UP

1шт.

29

01220-40520

SCREW

SN: 10001-UP

4шт.

30

01601-20513

WASHER,SPRING

SN: 10001-UP

4шт.

31

205-54-51250

HANGER

SN: 20001-UP

1шт.

32

01224-40416

SCREW

SN: 20001-UP

2шт.

33

425-54-17410

ASHTRAY

SN: 10001-UP

1шт.

34

01224-40412

SCREW

SN: 10001-UP

2шт.

35

418-923-1430

PAD

SN: 20001-UP

1шт.

Выбрано товаров: 38