Запчасти Komatsu WA350-1 ЭЛЕКТРИКА (ЛИНИЯ АККУМУЛЯТОРА)(№-) КОМПОНЕНТЫ ДВИГАТЕЛЯ И ЭЛЕКТРИКА

Схема запчастей Komatsu WA350-1 - ЭЛЕКТРИКА (ЛИНИЯ АККУМУЛЯТОРА)(№-) КОМПОНЕНТЫ ДВИГАТЕЛЯ И ЭЛЕКТРИКА
FIT
1:1
100%

Артикул

Название

Примечание

Количество

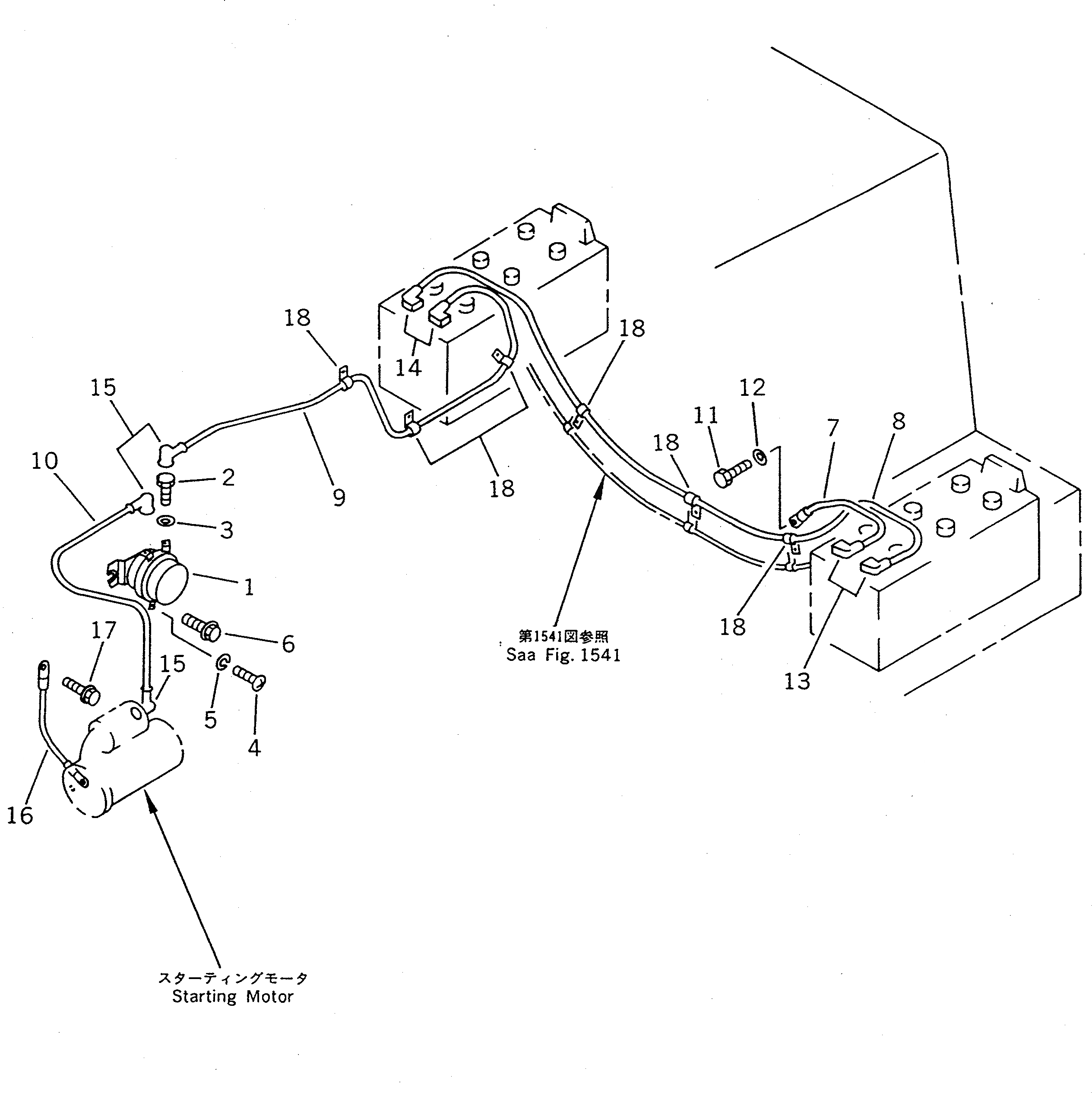
1

421-06-11930

RELAY,BATTERY

SN: 20001-UP

1шт.

2

01010-50816

BOLT

SN: 20001-UP

2шт.

3

01643-50823

WASHER

SN: 20001-UP

2шт.

4

01220-40408

SCREW

SN: 20001-UP

2шт.

5

01601-20410

WASHER,SPRING

SN: 20001-UP

2шт.

6

01435-00825

BOLT

SN: 20001-UP

2шт.

7

427-06-12340

WIRE

SN: 20001-UP

1шт.

8

424-V48-1130

WIRE

SN: 20001-UP

1шт.

9

421-06-12740

WIRE

SN: 20001-UP

1шт.

10

421-06-12730

WIRE

SN: 20001-UP

1шт.

11

01010-51016

BOLT

SN: 20001-UP

1шт.

12

01643-31032

WASHER

SN: 20001-UP

1шт.

13

424-09-12530

BOOT

SN: 20001-UP

2шт.

14

424-09-12540

BOOT

SN: 20001-UP

1шт.

15

08038-22511

CAP

SN: 20150-UP

1шт.

|15

424-09-12540

BOOT

SN: 20001-20149

1шт.

16

08038-00035

CAP

SN: 10001-UP

3шт.

17

424-06-12550

WIRE

SN: 20001-UP

1шт.

18

01415-01016

BOLT

SN: 20001-UP

1шт.

19

08036-01814

CLIP

SN: 20001-UP

6шт.

Выбрано товаров: 20