Запчасти Komatsu WA350-1 ОБОГРЕВАТЕЛЬ. (ДЛЯ КАБИНА ДЛЯ 2 ЧЕЛ.) (/)(№-99999) СПЕЦ. APPLICATION ЧАСТИ

Схема запчастей Komatsu WA350-1 - ОБОГРЕВАТЕЛЬ. (ДЛЯ КАБИНА ДЛЯ 2 ЧЕЛ.) (/)(№-99999) СПЕЦ. APPLICATION ЧАСТИ
FIT
1:1
100%

Артикул

Название

Примечание

Количество

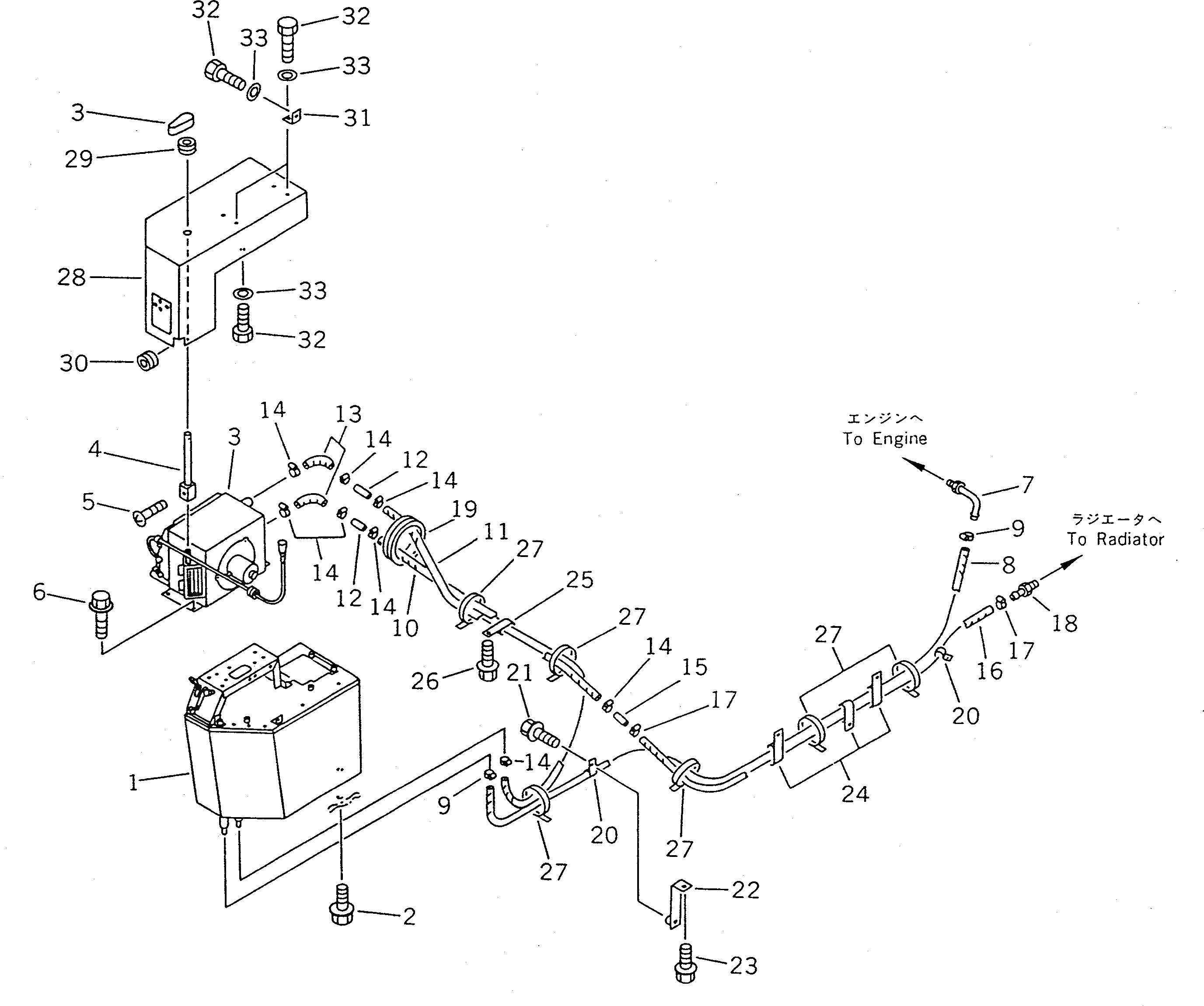
1

418-943-1272

HEATER UNIT ASS'Y,(DENSO) (MODIFIED PART)

SN: ..-UP

1шт.

2

01435-01220

BOLT

SN: 20001-UP

3шт.

3

418-943-1331

HEATER UNIT ASS'Y

SN: 20001-UP

1шт.

4

418-943-1350

ROD

SN: 20001-UP

1шт.

5

01220-40310

SCREW

SN: 10001-UP

1шт.

6

01435-01020

BOLT

SN: 20001-UP

4шт.

7

424-07-11360

ELBOW

SN: 10001-UP

1шт.

8

09483-10526

HOSE

SN: 10001-UP

1шт.

9

07281-00259

CLAMP

SN: 20001-UP

2шт.

10

09483-10515

HOSE

SN: 20001-UP

1шт.

11

09483-10512

HOSE

SN: 20001-UP

1шт.

12

09484-00560

CONNECTOR

SN: 20001-UP

2шт.

13

09483-30550

HOSE

SN: 10001-UP

2шт.

14

07281-00259

CLAMP

SN: 20001-UP

8шт.

15

09484-00560

CONNECTOR

SN: 20001-UP

1шт.

16

09483-10523

HOSE

SN: 20001-UP

1шт.

17

07281-00259

CLAMP

SN: 20001-UP

2шт.

18

424-07-11370

TUBE

SN: 10001-UP

1шт.

19

08037-05016

GROMMET

SN: 20001-UP

1шт.

20

424-09-12560

CLIP

SN: 20001-UP

2шт.

21

01435-01220

BOLT

SN: 20001-UP

1шт.

22

423-T46-1170

PLATE

SN: 20001-UP

1шт.

23

01435-01220

BOLT

SN: 20001-UP

1шт.

24

421-07-11550

CLIP

SN: 20001-UP

3шт.

25

198-61-14180

CLIP

SN: 20001-UP

1шт.

26

01435-01016

BOLT

SN: 20001-UP

1шт.

27

08034-00823

BAND

SN: 10001-UP

6шт.

28

423-944-1591

COVER

SN: 20001-UP

1шт.

29

08037-01008

GROMMET

SN: 20001-UP

1шт.

30

426-09-11220

GROMMET

SN: 20001-UP

1шт.

31

418-944-1720

PLATE

SN: 20001-UP

2шт.

32

01010-50816

BOLT

SN: 20001-UP

6шт.

33

154-61-16570

WASHER

SN: 20001-UP

6шт.

Выбрано товаров: 33