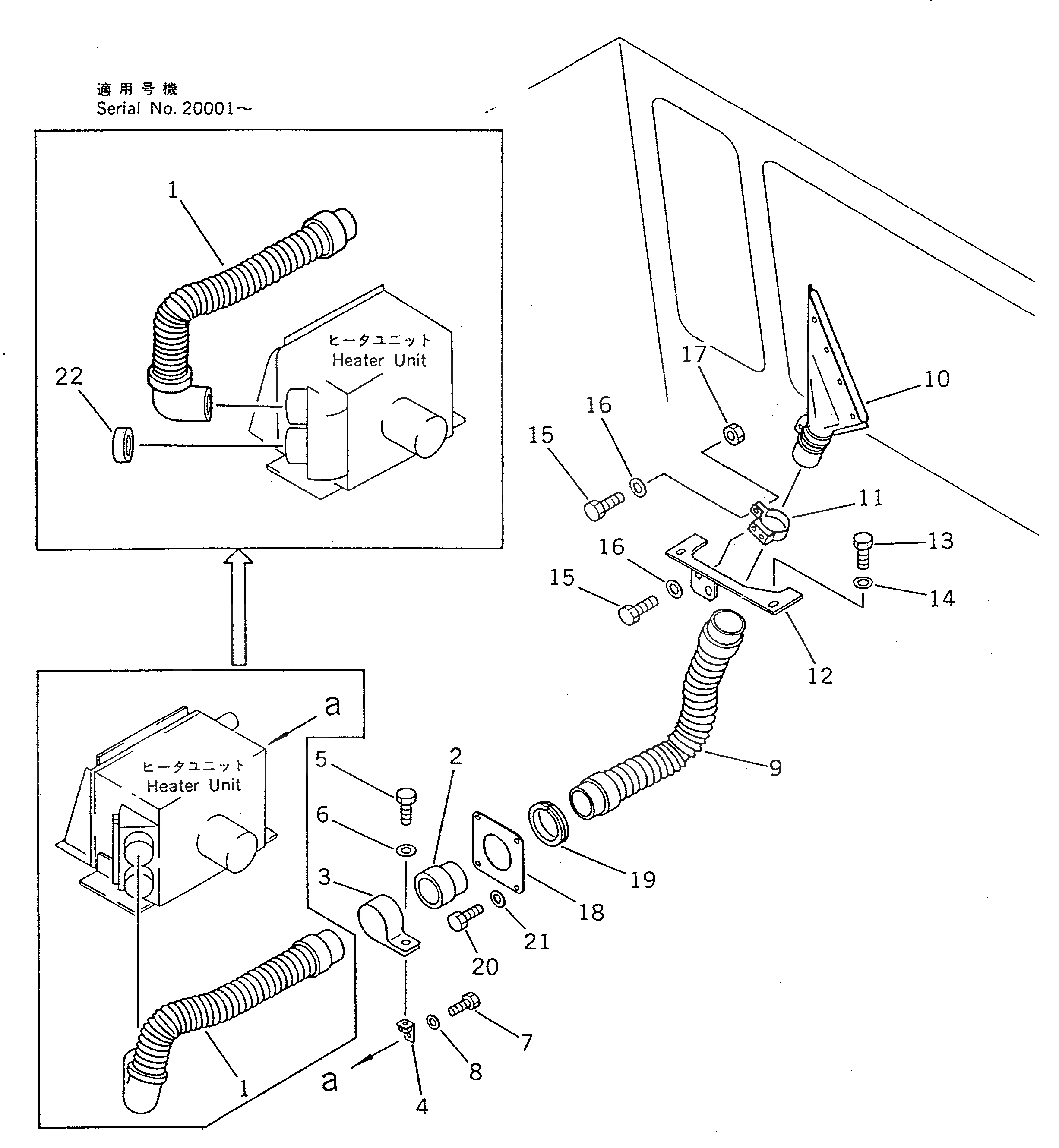
Запчасти Komatsu WA350-1 ОБОГРЕВАТЕЛЬ. (ДЛЯ КАБИНА ДЛЯ 2 ЧЕЛ.) (/)(№-99999) СПЕЦ. APPLICATION ЧАСТИ

Схема запчастей Komatsu WA350-1 - ОБОГРЕВАТЕЛЬ. (ДЛЯ КАБИНА ДЛЯ 2 ЧЕЛ.) (/)(№-99999) СПЕЦ. APPLICATION ЧАСТИ
FIT
1:1
100%

Артикул

Название

Примечание

Количество

1

418-943-1310

HOSE

SN: 10001-UP

1шт.

2

416-942-1310

PIPE

SN: 10001-UP

1шт.

3

205-03-71191

CLAMP

SN: 10001-UP

1шт.

4

418-943-1251

PLATE

SN: 10001-UP

1шт.

5

01435-00816

BOLT

SN: 20001-UP

1шт.

|5

01010-50816

BOLT

SN: 10001-19999

1шт.

6

01643-30823

WASHER

SN: 10001-19999

1шт.

7

01435-00610

BOLT

SN: 20001-UP

1шт.

|7

01010-50612

BOLT

SN: 10001-19999

1шт.

8

01643-30623

WASHER

SN: 10001-19999

1шт.

9

418-943-1360

HOSE

SN: 10001-UP

1шт.

10

418-943-1210

DEFROSTER

SN: 10001-UP

1шт.

11

418-943-1240

BRACKET

SN: 10001-UP

1шт.

12

418-943-1230

BRACKET

SN: 10001-UP

1шт.

13

01435-00616

BOLT

SN: 20001-UP

2шт.

|13

01010-50616

BOLT

SN: 10001-19999

2шт.

14

01643-30623

WASHER

SN: 10001-19999

2шт.

15

01435-00610

BOLT

SN: 20001-UP

3шт.

|15

01010-50612

BOLT

SN: 10001-19999

3шт.

16

01643-30623

WASHER

SN: 10001-19999

3шт.

17

01584-00605

NUT

SN: 20001-UP

1шт.

|17

01580-10605

NUT

SN: 10001-19999

1шт.

18

418-943-1220

PLATE

SN: 10001-UP

1шт.

19

416-943-1380

FINISHER

SN: 10001-UP

1шт.

20

01435-00616

BOLT

SN: 20001-UP

4шт.

|20

01010-50616

BOLT

SN: 10001-19999

4шт.

21

01643-30623

WASHER

SN: 10001-19999

4шт.

22

416-942-1630

CAP

SN: 20001-UP

1шт.

Выбрано товаров: 28