Запчасти Komatsu WA350-1 BACK BUZZER ЭЛЕМЕНТЫ КРЕПЛЕНИЯ (ДЛЯ ДОПОЛН. ПРОТИВОВЕС)(№-9999) КОМПОНЕНТЫ ДВИГАТЕЛЯ И ЭЛЕКТРИКА

Схема запчастей Komatsu WA350-1 - BACK BUZZER ЭЛЕМЕНТЫ КРЕПЛЕНИЯ (ДЛЯ ДОПОЛН. ПРОТИВОВЕС)(№-9999) КОМПОНЕНТЫ ДВИГАТЕЛЯ И ЭЛЕКТРИКА
FIT
1:1
100%

Артикул

Название

Примечание

Количество

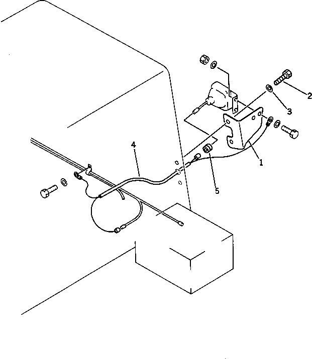
1

424-06-11530

BRACKET

SN: 10001-19999

1шт.

2

01010-51220

BOLT

SN: 10001-19999

2шт.

3

01643-31232

WASHER

SN: 10001-19999

2шт.

4

424-06-12380

HARNESS

SN: 10001-19999

1шт.

5

08037-01610

GROMMET

SN: 10001-19999

2шт.

Выбрано товаров: 5