Запчасти Komatsu WA350-1 БОКОВ. СДВИГ¤ PITCH И ANGLE SNOW PНИЗ. (ЦИЛИНДР НАКЛОНА ЛИНИЯ) (С ГИДРАВЛ СОЕДИНИТ. УСТР-ВО)(№..-99999) СПЕЦ. APPLICATION ЧАСТИ

Схема запчастей Komatsu WA350-1 - БОКОВ. СДВИГ¤ PITCH И ANGLE SNOW PНИЗ. (ЦИЛИНДР НАКЛОНА ЛИНИЯ)   (С ГИДРАВЛ СОЕДИНИТ. УСТР-ВО)(№..-99999) СПЕЦ. APPLICATION ЧАСТИ
FIT
1:1
100%

Артикул

Название

Примечание

Количество

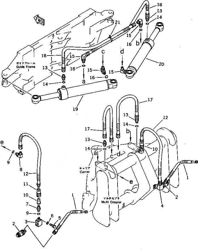
1

423-915-1271

HOSE

SN: ..-UP

2шт.

2

41H-62-13300

JOINT,SWIVEL

SN: ..-UP

2шт.

3

423-915-1511

BLOCK,L.H.

SN: ..-UP

1шт.

4

423-915-1531

BLOCK,R.H.

SN: ..-UP

1шт.

5

01010-31025

BOLT

SN: 10001-UP

4шт.

6

01643-31032

WASHER

SN: 10001-UP

4шт.

7

07230-10628

UNION

SN: 10001-UP

2шт.

8

07235-10628

ELBOW

SN: 10001-UP

2шт.

9

07002-12434

O-RING

SN: 10001-UP

4шт.

|10

423-915-1310

JOINT ASS'Y

SN: 10001-UP

2шт.

10

423-915-1320

ADAPTER

SN: 10001-UP

1шт.

11

423-915-1330

COUPLING

SN: 10001-UP

1шт.

12

423-915-1240

HOSE

SN: 10001-UP

2шт.

13

07230-10628

UNION

SN: 10001-UP

4шт.

14

07002-12434

O-RING

SN: 10001-UP

4шт.

15

07235-10628

ELBOW

SN: 10001-UP

4шт.

16

07002-12434

O-RING

SN: 10001-UP

4шт.

17

07123-20609

HOSE

SN: 10001-UP

2шт.

18

07123-20613

HOSE

SN: 10001-UP

2шт.

19

707-00-10051

CYLINDER ASS'Y,ANGLE¤ L.H.

SN: (003)-UP

1шт.

20

707-00-10061

CYLINDER ASS'Y,ANGLE¤ R.H.

SN: (003)-UP

1шт.

21

08034-00823

BAND

SN: 10001-UP

1шт.

Выбрано товаров: 22