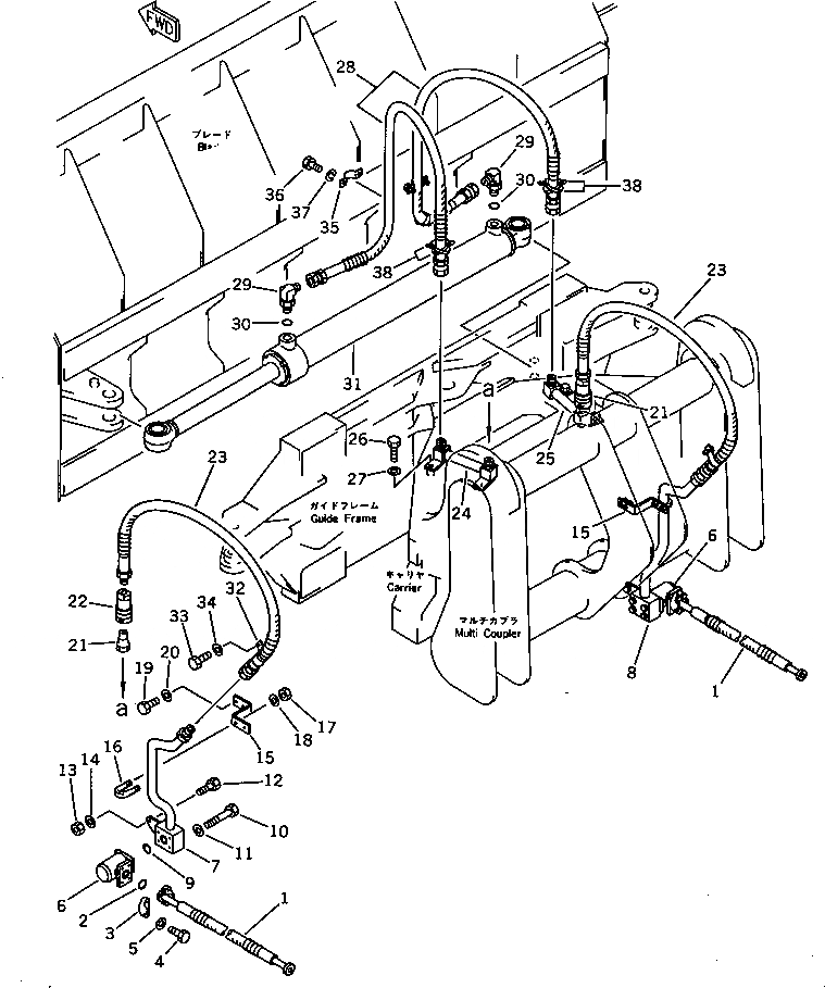
Запчасти Komatsu WA350-1 БОКОВ. СДВИГ¤ PITCH И ANGLE SNOW PНИЗ. (БОКОВ. СДВИГ ЛИНИЯ ЦИЛИНДРА) (С МЕХАНИЧ. СОЕДИНИТ. УСТР-ВО)(№-99999) СПЕЦ. APPLICATION ЧАСТИ

Схема запчастей Komatsu WA350-1 - БОКОВ. СДВИГ¤ PITCH И ANGLE SNOW PНИЗ. (БОКОВ. СДВИГ ЛИНИЯ ЦИЛИНДРА) (С МЕХАНИЧ. СОЕДИНИТ. УСТР-ВО)(№-99999) СПЕЦ. APPLICATION ЧАСТИ
FIT
1:1
100%

Артикул

Название

Примечание

Количество

1

423-915-1270

HOSE

SN: 10001-UP

2шт.

2

07000-13025

O-RING

SN: 10001-UP

2шт.

3

07371-30638

FLANGE,SPLIT

SN: 10001-UP

4шт.

4

01010-30830

BOLT

SN: 10001-UP

8шт.

5

01643-50823

WASHER

SN: 10001-UP

8шт.

6

07128-10600

JOINT,SWIVEL

SN: .-UP

2шт.

|6

0

JOINT,SWIVEL

SN: 10001-.

2шт.

7

423-918-1250

TUBE,L.H.

SN: 10001-UP

1шт.

8

423-918-1260

TUBE,R.H.

SN: 10001-UP

1шт.

9

07000-13030

O-RING

SN: 10001-UP

2шт.

10

01010-30860

BOLT

SN: 10001-UP

8шт.

11

01643-50823

WASHER

SN: 10001-UP

8шт.

12

01010-31020

BOLT

SN: 10001-UP

2шт.

13

01580-11008

NUT

SN: 10001-UP

2шт.

14

01643-31032

WASHER

SN: 10001-UP

2шт.

15

423-918-1320

PLATE

SN: 10001-UP

2шт.

16

07283-22738

CLIP

SN: 10001-UP

2шт.

17

01599-01011

NUT

SN: 10001-UP

4шт.

18

01643-31032

WASHER

SN: 10001-UP

4шт.

19

01010-31030

BOLT

SN: 10001-UP

4шт.

20

01643-31032

WASHER

SN: 10001-UP

4шт.

|21

423-915-1310

JOINT ASS'Y

SN: 10001-UP

2шт.

21

423-915-1320

ADAPTER

SN: 10001-UP

1шт.

22

423-915-1330

COUPLING

SN: 10001-UP

1шт.

23

423-918-1210

HOSE

SN: 10001-UP

2шт.

24

423-915-1210

TUBE,L.H.

SN: 10001-UP

1шт.

25

423-915-1230

TUBE,R.H.

SN: 10001-UP

1шт.

26

01010-31020

BOLT

SN: 10001-UP

4шт.

27

01643-31032

WASHER

SN: 10001-UP

4шт.

28

07123-20615

HOSE

SN: 10001-UP

2шт.

29

07235-10628

ELBOW

SN: 10001-UP

2шт.

30

07002-12434

O-RING

SN: 10001-UP

2шт.

31

707-00-80410

CYLINDER ASS'Y,SIDE SHIFT

SN: 10001-UP

1шт.

32

581-04-22290

CLIP

SN: 10001-UP

2шт.

33

01010-31016

BOLT

SN: 10001-UP

2шт.

34

01643-31032

WASHER

SN: 10001-UP

2шт.

35

423-905-1390

CLAMP

SN: 10001-UP

2шт.

36

01010-30816

BOLT

SN: 10001-UP

4шт.

37

01602-00825

WASHER,SPRING

SN: 10001-UP

4шт.

38

08034-00823

BAND

SN: 10001-UP

4шт.

Выбрано товаров: 40