Запчасти Komatsu WA350-1 УПРАВЛ. НАВЕСН. ОБОРУД. РЫЧАГ (ДЛЯ ДОПОЛН. КЛАПАН 2-Х СЕКЦИОНН.) (/)(№-99999) СПЕЦ. APPLICATION ЧАСТИ

Схема запчастей Komatsu WA350-1 - УПРАВЛ. НАВЕСН. ОБОРУД. РЫЧАГ (ДЛЯ ДОПОЛН. КЛАПАН 2-Х СЕКЦИОНН.) (/)(№-99999) СПЕЦ. APPLICATION ЧАСТИ
FIT
1:1
100%

Артикул

Название

Примечание

Количество

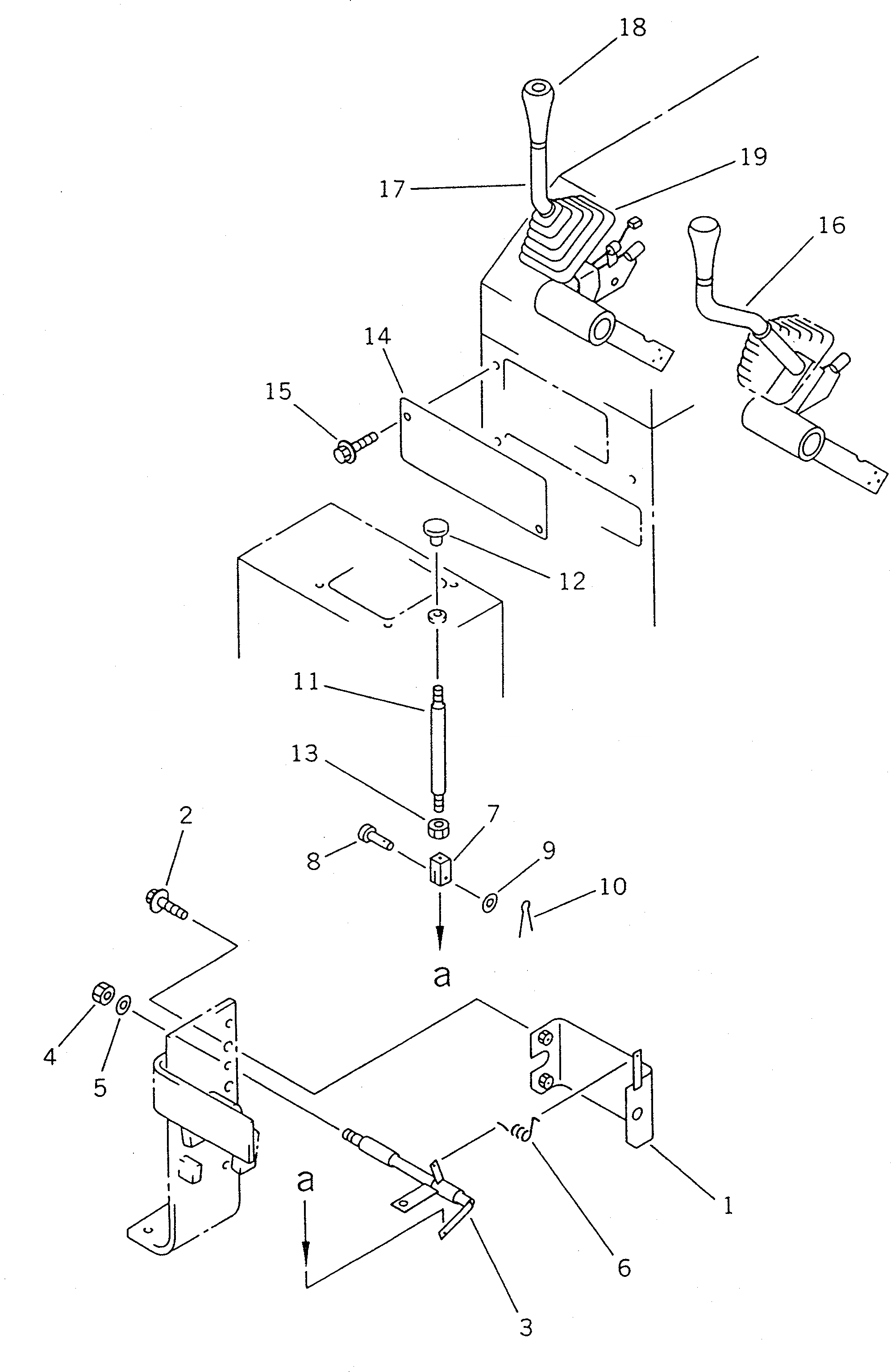
1

423-V88-1180

SUPPORT

SN: 20001-UP

1шт.

2

01435-01030

BOLT

SN: 20001-UP

2шт.

3

423-V88-1190

LEVER

SN: 20001-UP

1шт.

4

01598-00809

NUT

SN: 20001-UP

1шт.

5

01643-30823

WASHER

SN: 20001-UP

1шт.

6

09467-00002

SPRING

SN: 20001-UP

1шт.

7

04210-20624

YOKE

SN: 20001-UP

1шт.

8

04205-10620

PIN

SN: 20001-UP

1шт.

9

01641-20608

WASHER

SN: 20001-UP

1шт.

10

04050-11612

PIN,COTTER

SN: 20001-UP

1шт.

11

423-V88-1210

ROD

SN: 20001-UP

1шт.

12

415-43-18250

KNOB

SN: 20001-UP

1шт.

13

01580-10605

NUT

SN: 20001-UP

1шт.

14

423-V88-1290

COVER

SN: 20001-UP

1шт.

15

01435-01016

BOLT

SN: 20001-UP

2шт.

16

423-V88-1260

LEVER,DUMP

SN: 20001-UP

1шт.

17

423-V88-1280

LEVER,LIFT

SN: 20001-UP

1шт.

18

421-06-15510

SWITCH,KNOB

SN: 20001-UP

1шт.

|18

421-06-15520

SWITCH

SN: 20001-UP

1шт.

|18

421-06-15550

BODY

SN: 20001-UP

1шт.

|18

421-06-15530

COVER

SN: 20001-UP

1шт.

|18

421-06-15540

SCREW

SN: 20001-UP

1шт.

19

419-43-18160

BOOT

SN: 20001-UP

1шт.

Выбрано товаров: 23