Запчасти Komatsu WA350-1 РАДИАТОР(№-9999) КОМПОНЕНТЫ ДВИГАТЕЛЯ И ЭЛЕКТРИКА

Схема запчастей Komatsu WA350-1 - РАДИАТОР(№-9999) КОМПОНЕНТЫ ДВИГАТЕЛЯ И ЭЛЕКТРИКА
FIT
1:1
100%

Артикул

Название

Примечание

Количество

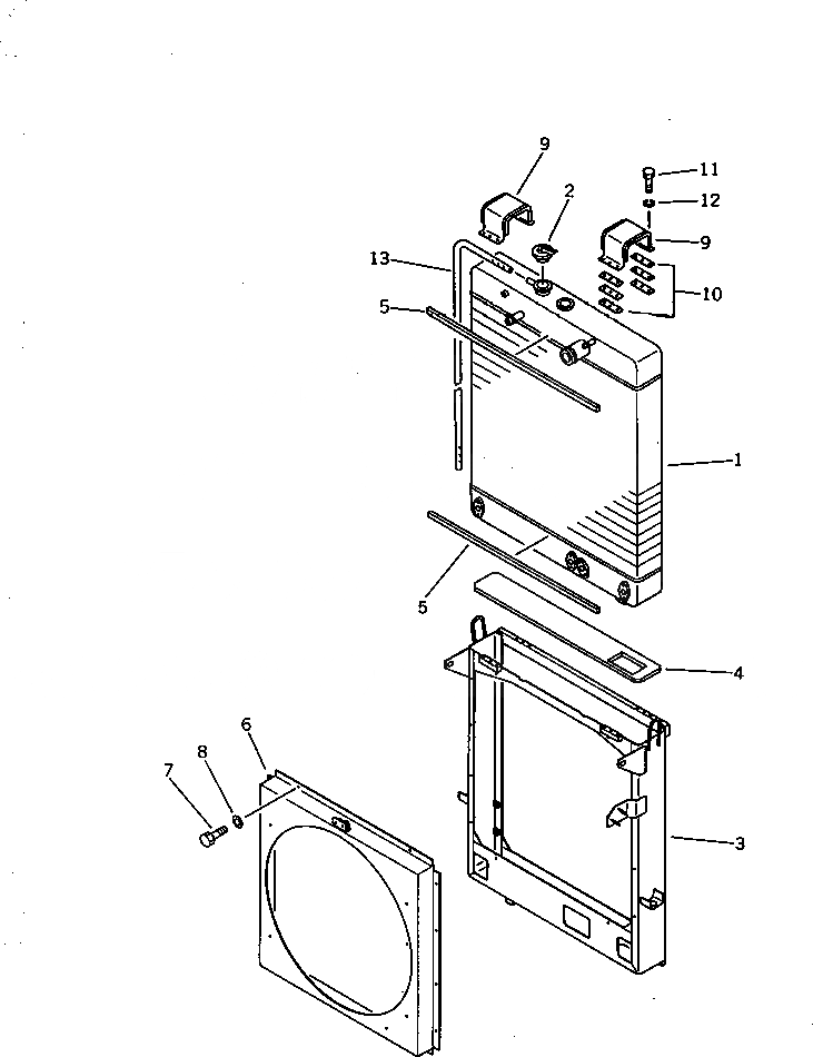
|1

423-03-11101

RADIATOR ASS'Y

SN: 10001-19999

1шт.

1

424-03-11201

RADIATOR CORE ASS'Y,(WITH OIL COOLER)

SN: 10001-19999

1шт.

2

424-03-11210

CAP

SN: 10001-19999

1шт.

3

424-03-11130

FRAME

SN: 10001-19999

1шт.

4

424-03-11180

SEAT

SN: 10001-@

1шт.

5

424-03-11190

PACKING

SN: 10001-@

2шт.

6

423-03-11140

SHROUD

SN: 10001-19999

1шт.

7

01010-51016

BOLT

SN: 10001-19999

12шт.

8

01643-51032

WASHER

SN: 10001-19999

12шт.

9

424-03-11150

CLAMP

SN: 10001-@

2шт.

10

424-03-11160

SHIM¤ 0.6MM

SN: 10001-@

26шт.

11

01010-50820

BOLT

SN: 10001-@

12шт.

12

01602-20825

WASHER,SPRING

SN: 10001-@

12шт.

13

424-03-11170

HOSE

SN: 10001-19999

1шт.

Выбрано товаров: 14