Запчасти Komatsu WA350-1 РАДИАТОР COVER(№-9999) КОМПОНЕНТЫ ДВИГАТЕЛЯ И ЭЛЕКТРИКА

Схема запчастей Komatsu WA350-1 - РАДИАТОР COVER(№-9999) КОМПОНЕНТЫ ДВИГАТЕЛЯ И ЭЛЕКТРИКА
FIT
1:1
100%

Артикул

Название

Примечание

Количество

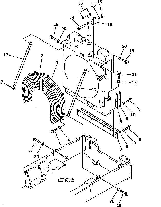
1

424-03-11711

GUARD,L.H.

SN: 10001-19999

1шт.

2

424-03-11721

GUARD,R.H.

SN: 10001-19999

1шт.

3

01010-51025

BOLT

SN: 10001-19999

7шт.

4

01643-31032

WASHER

SN: 10001-19999

7шт.

5

424-03-11780

RUBBER

SN: 10001-19999

2шт.

6

424-03-11820

PLATE

SN: 10001-19999

2шт.

7

424-03-11790

RUBBER

SN: 10001-19999

1шт.

8

424-03-11761

PLATE

SN: 10001-19999

1шт.

9

01010-51025

BOLT

SN: 10001-19999

12шт.

10

01643-31032

WASHER

SN: 10001-19999

12шт.

11

01010-31430

BOLT

SN: 10001-@

2шт.

12

01643-31445

WASHER

SN: 10001-@

2шт.

13

424-54-14340

STOPPER

SN: 10001-@

1шт.

14

424-54-14330

PIN

SN: 10001-@

1шт.

15

01641-01223

WASHER

SN: 10001-@

4шт.

16

04050-03022

PIN,COTTER

SN: 10001-19999

1шт.

17

423-03-11730

STAY

SN: 10001-19999

2шт.

18

01010-31235

BOLT

SN: 10001-19999

2шт.

19

01010-31260

BOLT

SN: 10001-19999

2шт.

20

01643-31232

WASHER

SN: 10001-19999

4шт.

Выбрано товаров: 20