Запчасти Komatsu WA350-3-H КАБИНА ROPS (ЗАМОК ДВЕРИ¤ ПРАВ.) КАБИНА ОПЕРАТОРА И СИСТЕМА УПРАВЛЕНИЯ

Схема запчастей Komatsu WA350-3-H - КАБИНА ROPS (ЗАМОК ДВЕРИ¤ ПРАВ.) КАБИНА ОПЕРАТОРА И СИСТЕМА УПРАВЛЕНИЯ
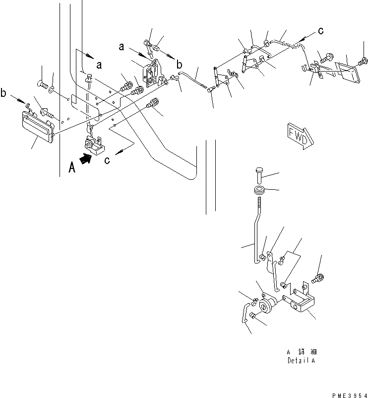
1
2
3
4
5
6
7
8
9
10
11
12
13
14
15
15
16
17
18
19
20
21
22
23
24
25
26
27
28
29
29
30
31
32
33
34
35
FIT
1:1
100%

Артикул

Название

Примечание

Количество

|1

424-926-2030

ROPS CAB ASS'Y

SN: 64001-UP

1шт.

|1

421-926-2052

ROPS CAB ASS'Y

SN: 63001-63999

1шт.

|$$3

THESE ASSEMBLIES CONSIST OF ALL PARTS SHOWN IN FIGS.K0210-01A0 TO K0210-19A0.

-1шт.

|1

421-926-2201

DOOR ASS'Y,R.H.

SN: 64001-UP

1шт.

|1

421-926-2200

DOOR ASS'Y,R.H.

SN: 63001-63999

1шт.

|$$6

THESE ASSEMBLIES CONSIST OF ALL PARTS SHOWN IN FIGS.K0210-14A0 TO K0210-16A0.

-1шт.

1

423-56-21340

LOCK,R.H.

SN: 63001-UP

1шт.

2

01224-40616

SCREW

SN: 63001-UP

1шт.

3

421-54-16440

WASHER

SN: 63001-UP

1шт.

4

01435-00612

BOLT

SN: 63001-UP

2шт.

5

417-56-21612

HANDLE,DOOR¤ R.H.

SN: 63048-UP

1шт.

|5

417-56-21610

HANDLE,DOOR¤ R.H.

SN: 63001-63047

1шт.

6

01023-60612

SCREW

SN: 63001-UP

2шт.

7

423-56-21320

ROD

SN: 63001-UP

1шт.

8

417-56-21520

BUSHING

SN: 63001-UP

1шт.

9

419-54-16880

KNOB

SN: 63001-UP

1шт.

10

423-56-21290

ROD

SN: 63001-UP

1шт.

11

421-56-11611

HOOK

SN: 63001-UP

1шт.

12

08037-01008

GROMMET

SN: 63001-UP

1шт.

13

427-56-11790

LOCK ASS'Y

SN: 63001-UP

1шт.

14

423-56-21310

ROD

SN: 63001-UP

1шт.

15

421-56-11611

HOOK

SN: 63001-UP

2шт.

16

423-56-21220

BRACKET

SN: 63001-UP

1шт.

17

01023-60612

SCREW

SN: 63001-UP

2шт.

18

423-56-21280

ROD,R.H.

SN: 63001-UP

1шт.

19

421-56-11611

HOOK

SN: 63001-UP

2шт.

20

421-56-11730

HANDLE,R.H.

SN: 63001-UP

1шт.

21

01435-00612

BOLT

SN: 63001-UP

2шт.

22

421-56-11740

COVER,R.H.

SN: 63001-UP

1шт.

23

421-56-11860

SCREW

SN: 63001-UP

1шт.

24

423-56-21240

ROD,R.H.

SN: 63001-UP

1шт.

25

421-56-11611

HOOK

SN: 63001-UP

1шт.

26

423-56-21210

BRACKET

SN: 63001-UP

1шт.

27

01023-60612

SCREW

SN: 63001-UP

2шт.

28

423-56-21250

ROD

SN: 63001-UP

1шт.

29

421-56-11611

HOOK

SN: 63001-UP

2шт.

30

22T-55-12240

BRACKET

SN: 63001-UP

1шт.

31

01023-60612

SCREW

SN: 63001-UP

2шт.

32

423-56-21260

ROD

SN: 63001-UP

1шт.

33

425-54-16450

SPRING

SN: 63001-UP

1шт.

34

425-54-16460

PIN

SN: 63001-UP

1шт.

35

421-56-11611

HOOK

SN: 63001-UP

1шт.

Выбрано товаров: 42