Запчасти Komatsu WA350-3A ГИДРОЦИЛИНДР ПОДЪЕМА(№-) ОСНОВН. КОМПОНЕНТЫ И РЕМКОМПЛЕКТЫ

Схема запчастей Komatsu WA350-3A - ГИДРОЦИЛИНДР ПОДЪЕМА(№-) ОСНОВН. КОМПОНЕНТЫ И РЕМКОМПЛЕКТЫ
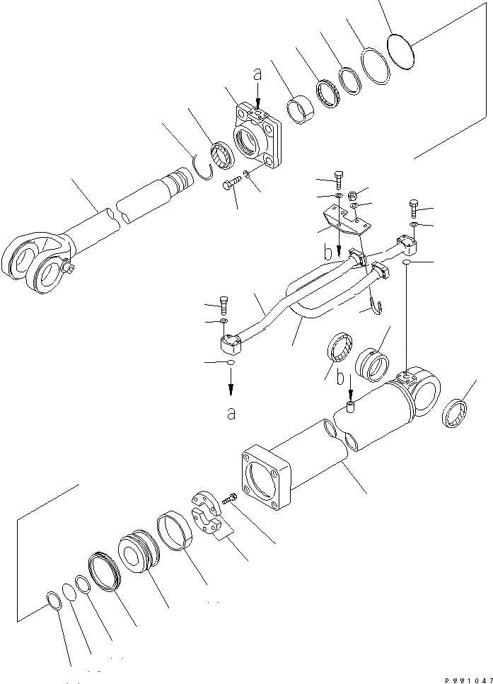
1
2
3
4
5
5A
6
7
8
9
10
11
12
13
14
14
15
16
17
18
19
20
20
21
22
23
23
24
24
25
25
26
27
28
29
30
31
FIT
1:1
100%

Артикул

Название

Примечание

Количество

G1

0

CYLINDER GROUP,LIFT

SN: 55001-UP

1шт.

|$$2

====================

-1шт.

|1

707-01-01081

CYLINDER ASS'Y

SN: 53148-UP

1шт.

1

707-13-16260

CYLINDER

SN: 53001-UP

1шт.

2

707-76-95040

BUSHING

SN: 53001-UP

1шт.

3

707-27-16110

HEAD,CYLINDER

SN: 53148-UP

1шт.

4

707-52-90680

BUSHING

SN: 53148-UP

1шт.

5

707-51-90030

PACKING,ROD (KIT)

SN: 53001-UP

1шт.

5A

707-51-90640

RING,BUFFER (KIT)

SN: 53148-UP

1шт.

6

195-63-94170

SEAL,DUST (KIT)

SN: 53001-UP

1шт.

7

07179-13104

RING,SNAP

SN: 53001-UP

1шт.

8

07000-15150

O-RING (KIT)

SN: 53001-UP

1шт.

9

07146-05152

RING,BACK-UP (KIT)

SN: 53001-UP

1шт.

10

01010-82785

BOLT

SN: 53148-UP

4шт.

11

01602-22783

WASHER,SPRING

SN: 53001-UP

4шт.

12

707-59-90211

ROD,PISTON

SN: 53148-UP

1шт.

13

07000-12070

O-RING (KIT)

SN: 53001-UP

1шт.

14

707-35-52910

RING,BACK-UP (KIT)

SN: 53001-UP

2шт.

15

707-36-16230

PISTON

SN: 53001-UP

1шт.

16

707-44-16180

RING,PISTON (KIT)

SN: 53001-UP

1шт.

17

07155-01640

RING,WEAR (KIT)

SN: 53001-UP

1шт.

18

707-40-18070

SPACER

SN: 53001-UP

2шт.

19

01010-61240

BOLT

SN: 53001-UP

6шт.

20

421-09-11310

SEAL,DUST

SN: 55001-UP

2шт.

21

423-62-23640

TUBE

SN: 55001-UP

1шт.

22

423-62-23630

TUBE

SN: 55001-UP

1шт.

23

07000-13035

O-RING

SN: 55001-UP

2шт.

24

07372-21055

BOLT

SN: 55001-UP

8шт.

25

01643-31032

WASHER

SN: 55001-UP

8шт.

26

423-62-23490

PLATE

SN: 55001-UP

1шт.

27

01010-81225

BOLT

SN: 55001-UP

1шт.

28

01643-31232

WASHER

SN: 55001-UP

1шт.

29

07283-23442

CLIP

SN: 55001-UP

2шт.

30

01597-01009

NUT

SN: 55001-UP

4шт.

31

01643-31032

WASHER

SN: 55001-UP

4шт.

|$$36

====================

-1шт.

|$$37

SERVICE KIT

-1шт.

KIT

707-99-64120

SERVICE KIT,LIFT CYLINDER

SN: 53148-UP

2шт.

Выбрано товаров: 38