Запчасти Komatsu WA350-3A-S КАБИНА (/9) (ПЕРЕДН. ЧАСТИ ИНТЕРЬЕРА)(№-) РАМА И ЧАСТИ КОРПУСА

Схема запчастей Komatsu WA350-3A-S - КАБИНА (/9) (ПЕРЕДН. ЧАСТИ ИНТЕРЬЕРА)(№-) РАМА И ЧАСТИ КОРПУСА
FIT
1:1
100%

Артикул

Название

Примечание

Количество

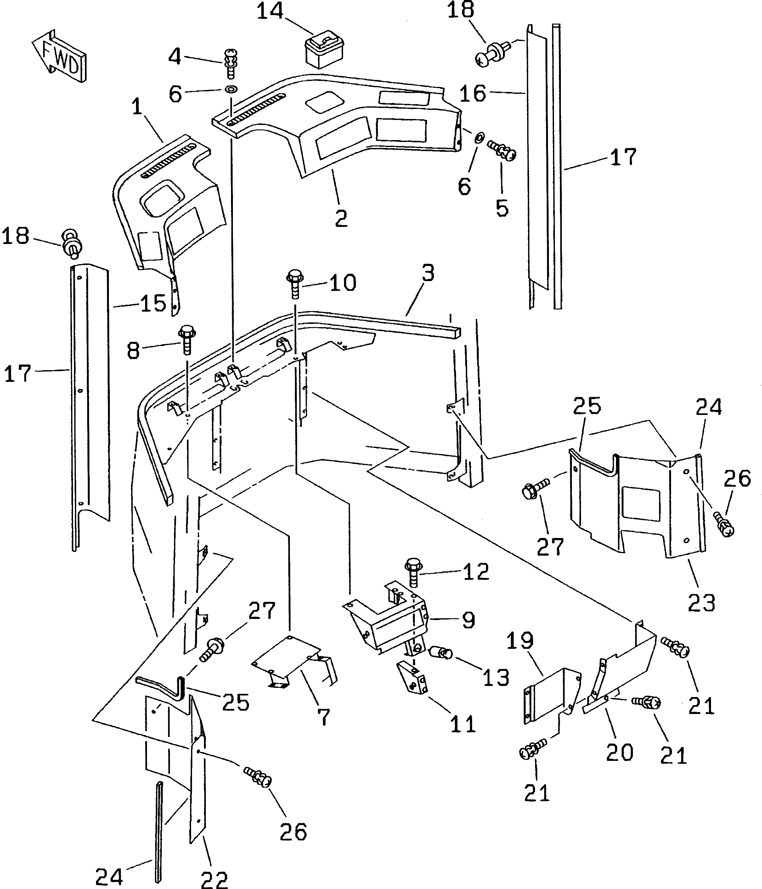
|1

421-56-21022

ROPS CAB ASS'Y

SN: 50351-UP

1шт.

|1

0

CAB ASS'Y

SN: 50001-50350

1шт.

|1

0

CAB ASS'Y

SN: (50001-.)

1шт.

|$$4

THESE ASSEMBLIES CONSIST OF ALL PARTS SHOWN IN FIGS.5502 TO 5509.

-1шт.

1

421-56-21561

COVER,L.H.

SN: .-UP

1шт.

|1

421-56-21560

COVER,L.H.

SN: 50001-.

1шт.

2

421-56-21571

COVER,R.H.

SN: .-UP

1шт.

|2

421-56-21570

COVER,R.H.

SN: 50001-.

1шт.

3

417-54-21380

SEAL

SN: 50001-UP

2шт.

4

421-09-21410

SCREW

SN: 50001-UP

6шт.

5

421-09-21430

SCREW

SN: 50001-UP

4шт.

6

01642-40810

WASHER

SN: 50001-UP

10шт.

7

421-56-21630

BRACKET

SN: 50001-UP

1шт.

8

01435-00616

BOLT

SN: 50001-UP

3шт.

9

421-56-21612

BRACKET,RADIO

SN: .-UP

1шт.

|9

421-56-21611

BRACKET,RADIO

SN: .-.

1шт.

|9

421-56-21610

BRACKET,RADIO

SN: 50001-.

1шт.

10

01435-00616

BOLT

SN: 50001-UP

3шт.

11

421-56-21621

PLATE

SN: .-UP

1шт.

|11

421-56-21620

PLATE

SN: 50001-.

1шт.

12

01435-00610

BOLT

SN: 50001-UP

3шт.

13

08913-02401

LIGHTER,CIGAR

SN: .-UP

1шт.

|13

0

LIGHTER,CIGAR

SN: 50001-.

1шт.

14

20G-54-13420

ASHTRAY

SN: 50001-UP

1шт.

15

421-56-21240

COVER,FRONT L.H.

SN: 50001-UP

1шт.

16

421-56-21250

COVER,FRONT R.H.

SN: 50001-UP

1шт.

17

421-56-21280

FINISHER

SN: 50001-UP

2шт.

18

421-56-21450

BUTTON

SN: 50001-UP

6шт.

19

421-56-21180

COVER,WIPER MOTOR

SN: 50001-UP

1шт.

20

421-56-21190

COVER,WIPER MOTOR

SN: 50001-UP

1шт.

21

421-09-21410

SCREW

SN: 50001-UP

7шт.

22

421-56-21211

COVER,L.H.

SN: .-UP

1шт.

|22

421-56-21210

COVER,L.H.

SN: 50001-.

1шт.

23

421-56-21220

COVER,R.H.

SN: 50001-UP

1шт.

24

421-56-21230

FINISHER

SN: 50001-UP

2шт.

25

421-56-21780

FINISHER

SN: 50001-UP

2шт.

26

421-09-21410

SCREW

SN: 50001-UP

4шт.

27

01435-00612

BOLT

SN: 50001-UP

2шт.

Выбрано товаров: 38