Запчасти Komatsu WA350-3A-S КЛАПАН УПРАВЛЕНИЯ ТРАНСМИССИЕЙ (/) (НИЖНИЙ КЛАПАН)(№-) ТРАНСМИССИЯ

Схема запчастей Komatsu WA350-3A-S - КЛАПАН УПРАВЛЕНИЯ ТРАНСМИССИЕЙ (/) (НИЖНИЙ КЛАПАН)(№-) ТРАНСМИССИЯ
FIT
1:1
100%

Артикул

Название

Примечание

Количество

|$$1

SERIAL NO. IN ( ) INDICATES TRANSMISSION SERIAL NO.

-1шт.

|1

714-12-10010

TORQFLOW ASS'Y

SN: 50001-UP

1шт.

|$$3

THIS ASSEMBLY CONSISTS OF ALL PARTS SHOWN IN FIGS.2201 TO 2271.

-1шт.

|1

714-12-17002

VALVE ASS'Y,TRANSMISSION

SN: (87203)-UP

1шт.

|1

0

VALVE ASS'Y,TRANSMISSION

SN: (87146)-(87202)

1шт.

|1

0

VALVE ASS'Y,TRANSMISSION

SN: 50001-(87145)

1шт.

|$$7

THESE ASSEMBLIES CONSIST OF ALL PARTS SHOWN IN FIGS.2242 TO 2244.

-1шт.

|1

714-12-17020

VALVE ASS'Y,LOWER

SN: 50001-UP

1шт.

|$$9

THIS ASSEMBLY CONSISTS OF ALL PARTS SHOWN IN FIGS.2242 AND 2243.

-1шт.

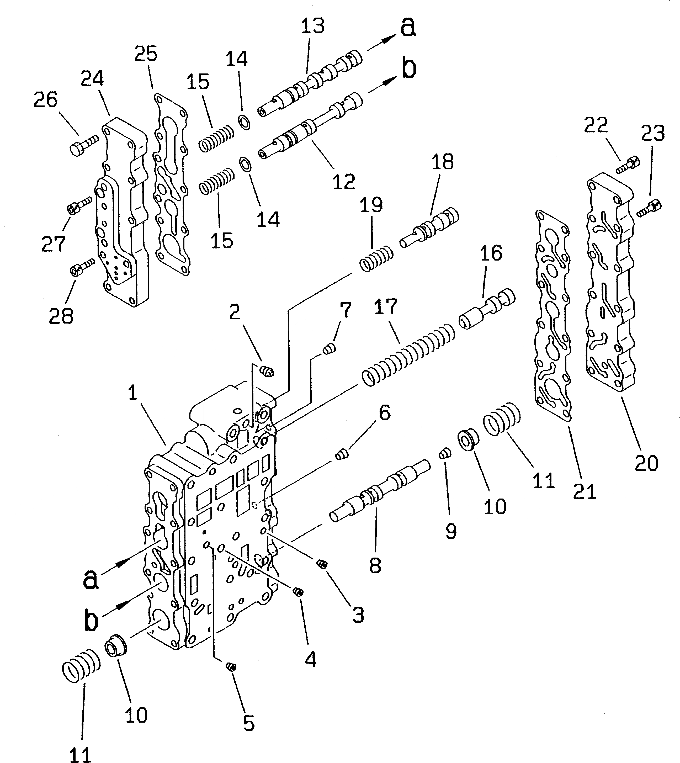
1

0

BODY,LOWER VALVE

SN: 50001-UP

1шт.

2

07042-30108

PLUG

SN: (87203)-UP

2шт.

|2

07042-30108

PLUG

SN: 50001-(87202)

1шт.

3

02720-10104

PLUG

SN: 50001-UP

1шт.

4

415-15-15430

PLUG

SN: 50001-UP

1шт.

5

415-15-15470

PLUG

SN: 50001-UP

2шт.

6

419-15-15640

PLUG

SN: 50001-UP

2шт.

7

419-15-15640

PLUG

SN: 50001-UP

1шт.

8

714-12-16410

VALVE,F-R

SN: 50001-UP

1шт.

9

02720-10104

PLUG

SN: 50001-UP

1шт.

10

714-07-16620

SLEEVE

SN: 50001-UP

2шт.

11

714-07-16370

SPRING

SN: 50001-UP

2шт.

12

714-12-16420

VALVE,H-L

SN: 50001-UP

1шт.

13

714-12-16330

VALVE,SPEED

SN: 50001-UP

1шт.

14

419-15-16631

SPACER

SN: 50001-UP

2шт.

15

419-15-16620

SPRING

SN: 50001-UP

2шт.

16

714-07-16250

VALVE,PRIORITY

SN: 50001-UP

1шт.

17

714-07-16290

SPRING

SN: 50001-UP

1шт.

18

714-07-16340

VALVE,BRAKE

SN: 50001-UP

1шт.

19

714-07-16380

SPRING

SN: 50001-UP

1шт.

20

714-07-16842

COVER,LOWER VALVE

SN: 50022-UP

1шт.

|20

714-07-16841

COVER,LOWER VALVE

SN: 50001-50021

1шт.

21

714-07-16950

GASKET (K2)

SN: 50001-UP

1шт.

22

01252-40835

BOLT

SN: 50001-UP

10шт.

23

01252-40825

BOLT

SN: 50001-UP

2шт.

24

714-12-15810

COVER,LOWER VALVE

SN: 50001-UP

1шт.

25

714-07-16960

GASKET (K2)

SN: 50001-UP

1шт.

26

01010-80835

BOLT

SN: 50001-UP

7шт.

27

01252-40845

BOLT

SN: 50001-UP

2шт.

28

01252-40835

BOLT

SN: 50001-UP

2шт.

Выбрано товаров: 39