Запчасти Komatsu WA350-3A-SW ТРАНСМИССИЯ (ГИДРОЛИНИЯ ТРАНСМИССИИ) (/) (СНЕГОУБОРОЧН. СПЕЦ-Я.)(№-) ТРАНСМИССИЯ

Схема запчастей Komatsu WA350-3A-SW - ТРАНСМИССИЯ (ГИДРОЛИНИЯ ТРАНСМИССИИ) (/) (СНЕГОУБОРОЧН. СПЕЦ-Я.)(№-) ТРАНСМИССИЯ
FIT
1:1
100%

Артикул

Название

Примечание

Количество

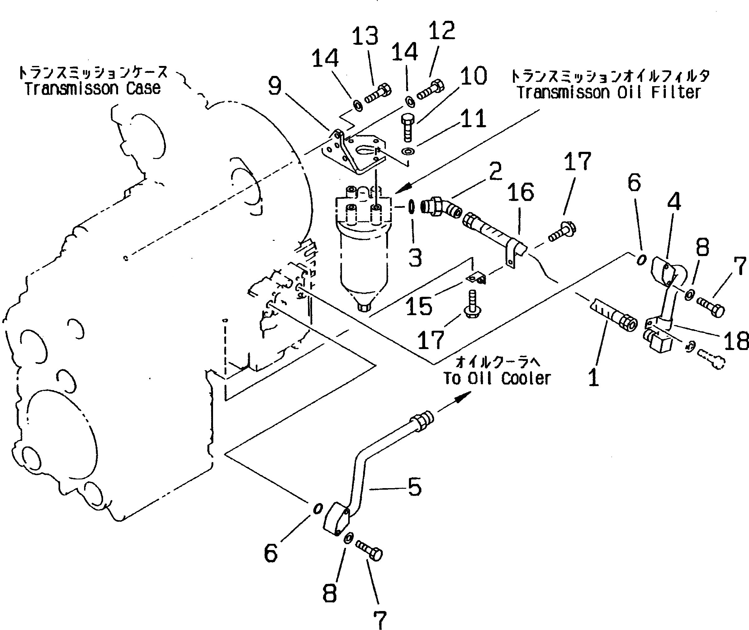
|$$1

SERIAL NO. IN ( ) INDICATES TRANSMISSION SERIAL NO.

-1шт.

|1

714-12-10031

TRANSMISSION ASS'Y

SN: (87222)-UP

1шт.

|1

0

TRANSMISSION ASS'Y

SN: 50001-(87221)

1шт.

|$$4

THESE ASSEMBLIES CONSIST OF ALL PARTS SHOWN IN FIGS.2301 TO 2371.

-1шт.

1

714-12-18410

HOSE

SN: 50001-UP

1шт.

2

419-15-14670

ELBOW

SN: 50001-UP

1шт.

3

07002-03334

O-RING (K3)

SN: 50001-UP

1шт.

4

714-12-18170

TUBE

SN: 50001-UP

1шт.

5

714-12-18180

TUBE

SN: 50001-UP

1шт.

6

07000-73028

O-RING (K3)

SN: 50001-UP

2шт.

7

01010-31060

BOLT

SN: 50001-UP

4шт.

8

01643-31032

WASHER

SN: 50001-UP

4шт.

9

714-12-18751

SUPPORT

SN: 50001-UP

1шт.

10

01010-31035

BOLT

SN: 50001-UP

4шт.

11

01643-31032

WASHER

SN: 50001-UP

4шт.

12

01010-31235

BOLT

SN: 50001-UP

1шт.

13

01010-31280

BOLT

SN: 50001-UP

2шт.

14

01643-31232

WASHER

SN: 50001-UP

3шт.

15

714-12-18761

PLATE

SN: 50062-UP

1шт.

|15

714-12-18760

PLATE

SN: 50001-50061

1шт.

16

714-12-18450

CLAMP

SN: 50010-UP

1шт.

|16

08036-23014

CLIP

SN: 50001-50009

1шт.

17

01435-01016

BOLT

SN: 50001-UP

2шт.

18

04434-52711

CLIP

SN: 50001-UP

1шт.

Выбрано товаров: 24