Запчасти Komatsu WA380-1 ЗАДН. РАМА(№-9999) РАМА И ЧАСТИ КОРПУСА

Схема запчастей Komatsu WA380-1 - ЗАДН. РАМА(№-9999) РАМА И ЧАСТИ КОРПУСА
FIT
1:1
100%

Артикул

Название

Примечание

Количество

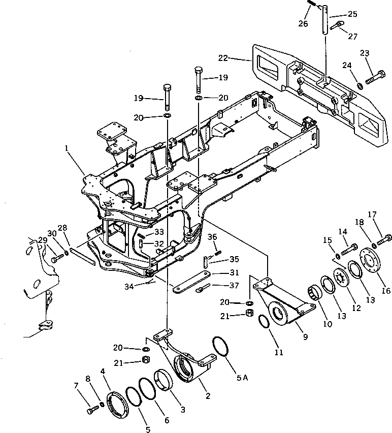
1

423-46-12281

FRAME,REAR

SN: 10001-19999

1шт.

2

423-46-12122

SUPPORT,FRONT

SN: 10001-19999

1шт.

3

423-46-12131

BUSHING,FRONT

SN: 10001-@

1шт.

4

423-46-12210

RETAINER

SN: 10001-@

1шт.

5

423-46-15110

PACKING

SN: .-19999

1шт.

5

07000-06260

O-RING

SN: 10001-.

2шт.

5A

423-46-15120

PACKING

SN: .-19999

1шт.

6

07000-05290

O-RING

SN: 10001-@

1шт.

7

01010-51235

BOLT

SN: 10001-19999

6шт.

8

01643-31232

WASHER

SN: 10001-19999

6шт.

9

424-46-12153

SUPPORT,REAR

SN: 10001-19999

1шт.

10

424-46-12172

BUSHING,REAR

SN: 10001-@

1шт.

11

421-46-15131

PACKING

SN: .-19999

1шт.

11

07000-06170

O-RING

SN: 10001-.

1шт.

12

424-46-12221

PLATE,THRUST

SN: 10001-@

1шт.

13

424-46-12181

WASHER,THRUST

SN: 10001-@

2шт.

14

01010-31670

BOLT

SN: 10001-@

8шт.

15

01643-31645

WASHER

SN: 10001-@

8шт.

16

424-46-12191

COVER

SN: 10001-@

1шт.

17

01010-31660

BOLT

SN: 10001-@

8шт.

18

01643-31645

WASHER

SN: 10001-@

8шт.

19

01011-62710

BOLT

SN: .-19999

8шт.

19

0

BOLT

SN: 10001-.

8шт.

20

01643-32780

WASHER

SN: 10001-@

16шт.

21

01580-02722

NUT

SN: .-@

8шт.

21

0

NUT

SN: 10001-.

8шт.

22

07217-50712

ELBOW

SN: 10001-19999

2шт.

23

423-46-12152

TUBE

SN: 10001-19999

1шт.

24

423-46-12161

TUBE

SN: 10001-19999

1шт.

25

07214-50710

CONNECTOR

SN: 10001-19999

2шт.

26

07020-00900

FITTING,GREASE

SN: 10001-19999

2шт.

27

424-46-12330

BLOCK

SN: 10001-19999

1шт.

28

01010-51020

BOLT

SN: 10001-19999

2шт.

29

01643-31032

WASHER

SN: 10001-19999

2шт.

30

08036-11214

CLIP

SN: 10001-19999

2шт.

31

01010-51020

BOLT

SN: 10001-19999

2шт.

32

01643-31032

WASHER

SN: 10001-19999

2шт.

33

423-46-13310

WEIGHT,COUNTER

SN: 10001-19999

1шт.

34

01011-32430

BOLT

SN: 10001-19999

4шт.

35

01643-32460

WASHER

SN: 10001-19999

4шт.

36

424-46-13221

PIN

SN: 10001-@

1шт.

37

04025-01000

PIN,SPRING

SN: 10001-@

2шт.

38

426-46-12280

PIN,LINCH

SN: 10001-@

1шт.

39

423-46-12170

PLATE

SN: 10001-19999

1шт.

40

01010-51030

BOLT

SN: 10001-19999

2шт.

41

01643-31032

WASHER

SN: 10001-19999

2шт.

42

424-46-12131

BAR,LOCK

SN: 10001-19999

1шт.

43

421-46-12721

PIN

SN: 10001-@

1шт.

44

04025-01065

PIN,SPRING

SN: 10001-@

1шт.

45

04050-10060

PIN,COTTER

SN: 10001-19999

1шт.

46

421-46-12731

PIN

SN: 10001-@

1шт.

47

04025-01065

PIN,SPRING

SN: 10001-@

2шт.

48

421-46-12740

PIN,LINCH

SN: 10001-@

1шт.

Выбрано товаров: 53