Запчасти Komatsu WA380-1 ТОПЛИВН. ФИЛЬТР.(№-) КОМПОНЕНТЫ ДВИГАТЕЛЯ И ЭЛЕКТРИКА

Схема запчастей Komatsu WA380-1 - ТОПЛИВН. ФИЛЬТР.(№-) КОМПОНЕНТЫ ДВИГАТЕЛЯ И ЭЛЕКТРИКА
FIT
1:1
100%

Артикул

Название

Примечание

Количество

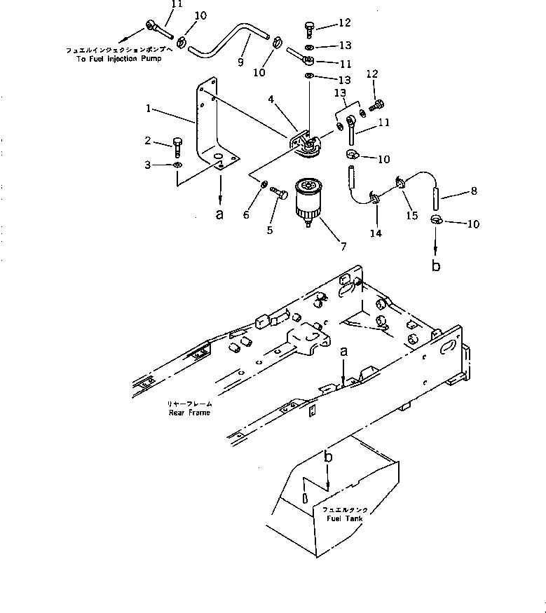
1

424-Z02-1110

BRACKET

SN: 20001-UP

1шт.

2

01010-51225

BOLT

SN: 20001-UP

2шт.

3

01643-31232

WASHER

SN: 20001-UP

2шт.

4

600-311-9100

FUEL FILTER ASS'Y

SN: 20001-UP

1шт.

5

01010-51035

BOLT

SN: 20001-UP

2шт.

6

01643-31032

WASHER

SN: 20001-UP

2шт.

7

600-311-9120

CARTRIDGE

SN: 20001-UP

1шт.

8

07270-21077

TUBE

SN: 20001-UP

1шт.

9

07270-21036

TUBE

SN: 20001-UP

1шт.

10

07281-00197

CLAMP

SN: 20001-UP

4шт.

11

419-04-10130

JOINT,EYE

SN: 20001-UP

3шт.

12

07206-31014

BOLT,JOINT

SN: 20001-UP

2шт.

13

07005-01412

GASKET

SN: 20001-UP

4шт.

14

08034-00823

BAND

SN: 20001-UP

1шт.

15

08034-00414

BAND

SN: 20001-UP

1шт.

Выбрано товаров: 0