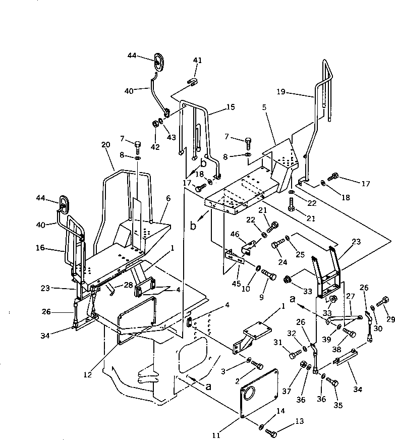
Запчасти Komatsu WA380-1 ПОЛ И ЛЕСТНИЦА (БЕЗ КАБИНЫ)(№-) РАМА И ЧАСТИ КОРПУСА

Схема запчастей Komatsu WA380-1 - ПОЛ И ЛЕСТНИЦА (БЕЗ КАБИНЫ)(№-) РАМА И ЧАСТИ КОРПУСА
FIT
1:1
100%

Артикул

Название

Примечание

Количество

1

421-54-18162

SUPPORT,(WITHOUT ROPS)

SN: 20001-UP

2шт.

2

01010-51660

BOLT

SN: 20001-UP

8шт.

3

01643-31645

WASHER

SN: 20001-UP

8шт.

4

421-54-18170

PLATE

SN: 20001-UP

4шт.

5

423-54-12211

FLOOR,L.H.

SN: 20001-UP

1шт.

6

423-54-12221

FLOOR,R.H.

SN: 20001-UP

1шт.

7

01010-52450

BOLT

SN: 20001-UP

4шт.

8

01643-32460

WASHER

SN: 20001-UP

4шт.

9

01010-51260

BOLT

SN: 20187-UP

4шт.

9

01435-01255

BOLT

SN: 20001-20186

4шт.

10

01643-31232

WASHER

SN: 20187-UP

4шт.

11

424-54-12785

COVER,L.H.

SN: 20001-UP

1шт.

12

424-54-12792

COVER,R.H.

SN: 20001-UP

1шт.

13

01010-51220

BOLT

SN: 20001-UP

8шт.

14

01643-31232

WASHER

SN: 20001-UP

8шт.

15

423-54-12581

HANDLE,L.H.

SN: 20001-UP

1шт.

16

423-54-12591

HANDLE,R.H.

SN: 20001-UP

1шт.

17

01010-51230

BOLT

SN: 20001-UP

4шт.

18

01643-31232

WASHER

SN: 20001-UP

4шт.

19

423-54-12252

HANDLE,L.H.

SN: 20001-UP

1шт.

20

423-54-12262

HANDLE,R.H.

SN: 20001-UP

1шт.

21

01010-31235

BOLT

SN: 20187-UP

14шт.

21

01435-01230

BOLT

SN: 20001-20186

14шт.

22

01643-31232

WASHER

SN: 20187-UP

14шт.

23

423-54-12271

LADDER

SN: 10001-UP

2шт.

24

01010-31235

BOLT

SN: 20187-UP

8шт.

24

01435-01230

BOLT

SN: 20001-20186

8шт.

25

01643-31232

WASHER

SN: 20187-UP

8шт.

26

423-54-14260

ROPE,WIRE

SN: 10001-UP

4шт.

27

423-54-12132

STAY,L.H.

SN: 20001-UP

1шт.

28

423-54-12860

STAY,R.H.

SN: 20001-UP

1шт.

29

01010-51245

BOLT

SN: 20187-UP

4шт.

29

01435-01240

BOLT

SN: 20001-20186

4шт.

30

01643-31232

WASHER

SN: 20187-UP

4шт.

31

01010-51235

BOLT

SN: 20187-UP

4шт.

31

01435-01230

BOLT

SN: 20001-20186

4шт.

32

01643-31232

WASHER

SN: 20187-UP

4шт.

33

01584-01210

NUT

SN: 20001-UP

8шт.

34

423-54-12770

STEP

SN: 10001-UP

2шт.

35

01010-51265

BOLT

SN: 20187-UP

4шт.

35

01435-01260

BOLT

SN: 20001-20186

4шт.

36

01643-31232

WASHER

SN: 20001-UP

8шт.

37

426-43-19150

NUT

SN: 20001-UP

4шт.

38

01010-51230

BOLT

SN: 20187-UP

2шт.

38

01435-01225

BOLT

SN: 20001-20186

2шт.

39

01643-31232

WASHER

SN: 20187-UP

2шт.

40

41B-54-15140

SUPPORT

SN: 20001-UP

2шт.

41

07283-22738

CLIP

SN: 20001-UP

4шт.

42

01599-01011

NUT

SN: 20001-UP

8шт.

43

01643-31032

WASHER

SN: 20001-UP

8шт.

44

08174-13116

MIRROR

SN: 20001-UP

2шт.

45

424-54-15231

PLATE,L.H.

SN: 20001-UP

1шт.

45

424-54-15241

PLATE,R.H.

SN: 20001-UP

1шт.

46

424-54-15251

PLATE,L.H.

SN: 20001-UP

1шт.

46

424-54-15261

PLATE,R.H.

SN: 20001-UP

1шт.

Выбрано товаров: 55