Запчасти Komatsu WA380-1 БЛОК КОНДИЦИОНЕРА (DENSO) (/) РАМА И ЧАСТИ КОРПУСА

Схема запчастей Komatsu WA380-1 - БЛОК КОНДИЦИОНЕРА (DENSO) (/) РАМА И ЧАСТИ КОРПУСА
FIT
1:1
100%

Артикул

Название

Примечание

Количество

|$0

425-963-1111

AIR CONDITIONER A.

SN: .-UP

1шт.

|$1

425-963-1110

AIR CONDITIONER A.

SN: 10001-.

1шт.

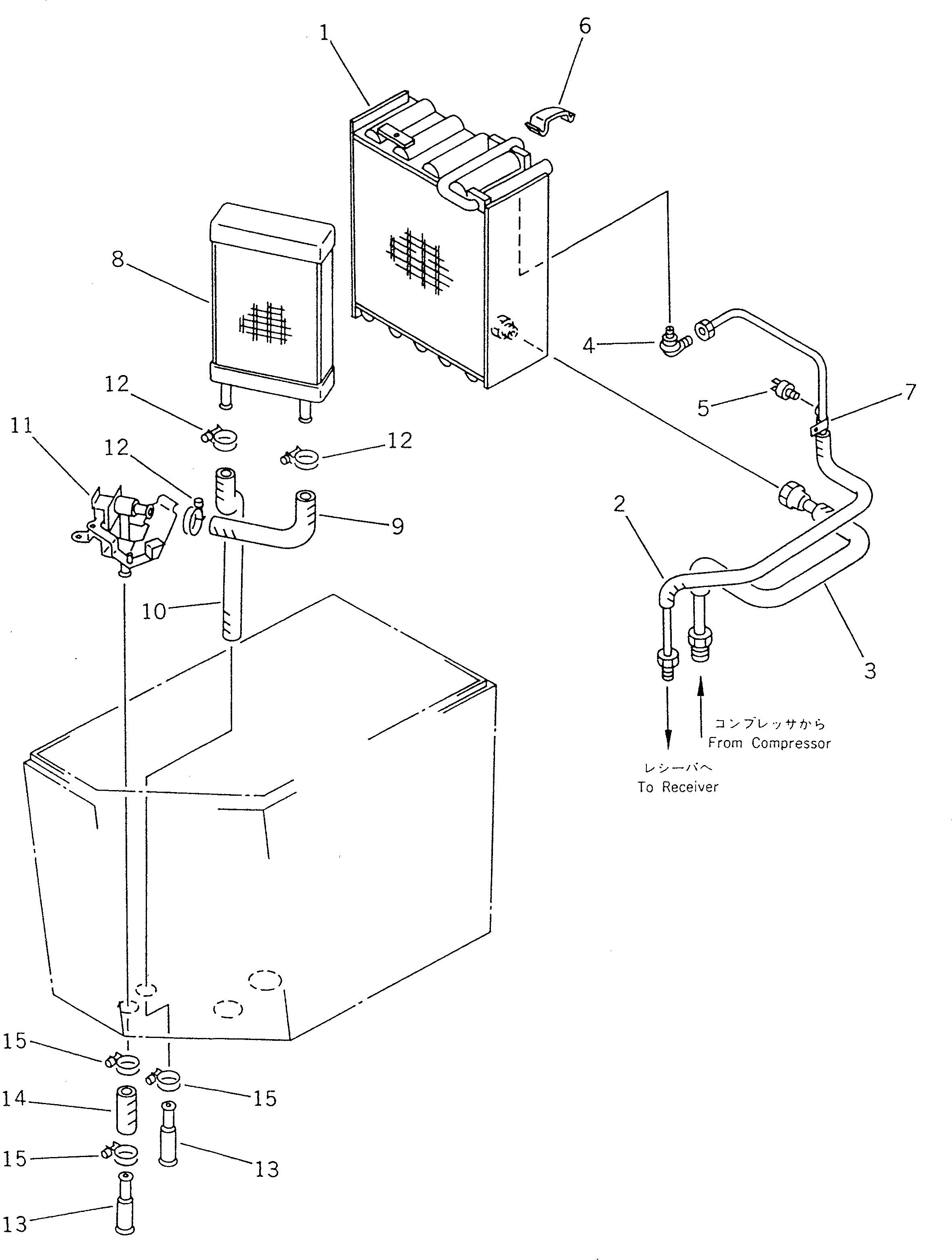
1

425-963-1650

EVAPORATOR

SN: 10001-UP

1шт.

2

425-963-1710

TUBE,LIQUID

SN: 10001-UP

1шт.

3

425-963-1720

TUBE,SUCTION

SN: 10001-UP

1шт.

4

425-963-2180

VALVE,EXPANSION

SN: 10001-UP

1шт.

5

425-963-1890

SWITCH,LOW PRESSURE

SN: 10001-UP

1шт.

6

425-963-1910

SWITCH,HIGH PRESSURE

SN: 10001-UP

1шт.

7

425-963-2230

CLIP

SN: 10001-UP

1шт.

8

425-963-2240

CLAMP

SN: 10001-UP

1шт.

9

425-963-1660

HEATER COIL ASS'Y

SN: 10001-UP

1шт.

10

425-963-1730

HOSE,WATER

SN: 10001-UP

1шт.

11

425-963-1740

HOSE,WATER

SN: 10001-UP

1шт.

12

425-963-1840

VALVE,WATER

SN: 10001-UP

1шт.

13

425-963-1950

CLAMP

SN: 10001-UP

3шт.

14

425-963-2290

PIPE

SN: 10001-UP

2шт.

15

425-963-2310

HOSE

SN: 10001-UP

1шт.

16

425-963-2320

CLAMP

SN: 10001-UP

3шт.

Выбрано товаров: 18