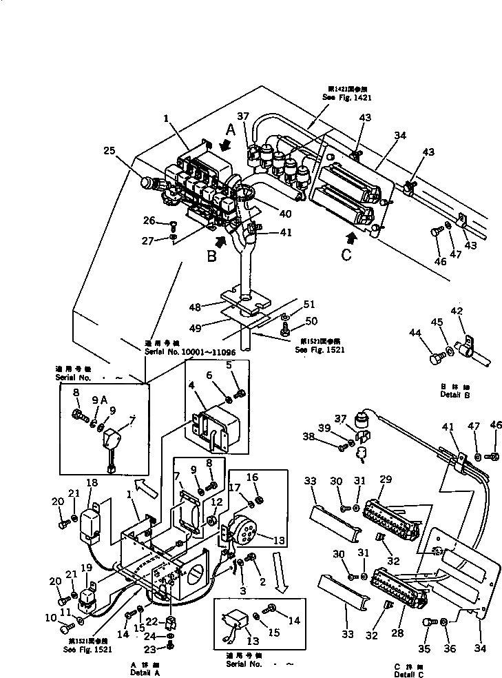
Запчасти Komatsu WA380-1 ЭЛЕКТРИКА (КОНСОЛЬН. БЛОК¤ ПРАВ.)(№-9999) КОМПОНЕНТЫ ДВИГАТЕЛЯ И ЭЛЕКТРИКА

Схема запчастей Komatsu WA380-1 - ЭЛЕКТРИКА (КОНСОЛЬН. БЛОК¤ ПРАВ.)(№-9999) КОМПОНЕНТЫ ДВИГАТЕЛЯ И ЭЛЕКТРИКА
FIT
1:1
100%

Артикул

Название

Примечание

Количество

1

424-06-11731

BOX

SN: 11097-19999

1шт.

1

424-06-11730

BOX

SN: 10558-11096

1шт.

1

0

BOX

SN: 10001-10557

1шт.

2

01010-50616

BOLT

SN: 10001-19999

4шт.

3

01643-30623

WASHER

SN: 10001-19999

4шт.

4

7861-72-3000

CONTROLLER ASS'Y

SN: 10001-11096

1шт.

5

01010-50616

BOLT

SN: 10001-11096

4шт.

6

01643-30623

WASHER

SN: 10001-11096

4шт.

7

423-06-11212

TIMER, BI-METAL

SN: .-@

1шт.

7

423-06-11210

TIMER,BI-METAL

SN: 10001-.

1шт.

8

01010-50612

BOLT

SN: .-19999

2шт.

8

01235-40410

SCREW

SN: 10001-.

1шт.

9

01601-20619

WASHER,SPRING

SN: .-19999

2шт.

9

01641-20405

WASHER

SN: 10001-.

1шт.

9A

01641-20608

WASHER

SN: .-19999

2шт.

10

01220-40520

SCREW

SN: 10001-19999

1шт.

11

01641-20508

WASHER

SN: 10001-19999

1шт.

12

01580-10504

NUT

SN: 10001-19999

1шт.

13

207-06-31160

BUZZER

SN: .-19999

1шт.

13

08166-02480

BUZZER

SN: 10001-.

1шт.

14

01220-40412

SCREW

SN: .-19999

2шт.

14

01220-40616

SCREW

SN: 10001-.

2шт.

15

01641-20405

WASHER

SN: .-19999

2шт.

15

01640-20610

WASHER

SN: 10001-.

2шт.

16

01580-10605

NUT

SN: 10001-.

2шт.

17

01602-20619

WASHER,SPRING

SN: 10001-.

2шт.

18

22W-06-13251

FLASHER

SN: 10001-@

1шт.

19

287-06-16410

RELAY

SN: 10001-19999

6шт.

20

01010-50610

BOLT

SN: 10001-19999

7шт.

21

01643-30623

WASHER

SN: 10001-19999

7шт.

22

283-06-17130

CLIP

SN: 10001-19999

3шт.

23

01220-40608

SCREW

SN: 10001-19999

3шт.

24

01641-20608

WASHER

SN: 10001-19999

3шт.

25

195-822-6151

LIGHTER

SN: 10001-19999

1шт.

26

01220-40410

SCREW

SN: 10001-19999

2шт.

27

01641-20405

WASHER

SN: 10001-19999

2шт.

28

424-06-12430

BOX ASS'Y,FUSE

SN: 10001-19999

1шт.

29

424-06-12420

BOX ASS'Y,FUSE

SN: 10001-@

1шт.

30

01220-40516

SCREW

SN: 10001-@

4шт.

31

01641-20508

WASHER

SN: 10001-@

4шт.

32

283-06-16190

FUSE, 10A

SN: 10001-19999

24шт.

32

22W-06-13160

FUSE, 20A

SN: 10001-19999

6шт.

33

283-06-16120

COVER

SN: 10001-@

2шт.

34

424-06-12410

BRACKET

SN: 10001-19999

1шт.

35

01010-50812

BOLT

SN: 10001-19999

4шт.

36

01643-30823

WASHER

SN: 10001-19999

4шт.

37

421-06-12610

CLIP

SN: 10001-@

5шт.

38

01220-40608

SCREW

SN: 10001-@

5шт.

39

01641-20608

WASHER

SN: 10001-@

5шт.

40

08037-05016

GROMMET

SN: 10001-19999

1шт.

41

08036-03014

CLIP

SN: 10001-19999

2шт.

42

08036-01814

CLIP

SN: 10001-19999

1шт.

43

08036-10814

CLIP

SN: 10001-19999

3шт.

44

01010-51220

BOLT

SN: 10001-19999

2шт.

45

01643-31232

WASHER

SN: 10001-19999

2шт.

46

01010-51020

BOLT

SN: 10001-19999

4шт.

47

01643-31032

WASHER

SN: 10001-19999

4шт.

48

419-06-12230

SEAT

SN: 10001-19999

1шт.

49

419-06-12220

PLATE

SN: 10001-19999

1шт.

50

01010-50630

BOLT

SN: 10001-19999

2шт.

51

01643-30623

WASHER

SN: 10001-@

2шт.

Выбрано товаров: 61