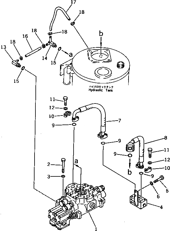
Запчасти Komatsu WA380-1 ГИДРОЛИНИЯ (КЛАПАН - БАК)(№-9999) УПРАВЛ-Е РАБОЧИМ ОБОРУДОВАНИЕМ

Схема запчастей Komatsu WA380-1 - ГИДРОЛИНИЯ (КЛАПАН - БАК)(№-9999) УПРАВЛ-Е РАБОЧИМ ОБОРУДОВАНИЕМ
FIT
1:1
100%

Артикул

Название

Примечание

Количество

1

700-92-13002

VALVE ASS'Y,2-SPOOL (SEE FIG.6201)

SN: 10001-19999

1шт.

2

01010-51285

BOLT

SN: 10001-19999

3шт.

3

01643-31232

WASHER

SN: 10001-19999

3шт.

4

423-62-13310

BLOCK

SN: 10001-19999

1шт.

5

01010-51235

BOLT

SN: 10001-19999

2шт.

6

01643-31232

WASHER

SN: 10001-19999

2шт.

7

07298-01207

HOSE

SN: 10001-19999

1шт.

8

07297-01207

HOSE

SN: 10001-19999

1шт.

9

07000-13038

O-RING

SN: 10001-19999

4шт.

10

07371-31255

FLANGE,SPLIT

SN: 10001-19999

8шт.

11

07372-21035

BOLT

SN: 10001-19999

16шт.

12

01643-51032

WASHER

SN: 10001-19999

16шт.

13

424-62-14260

ELBOW

SN: 10001-19999

1шт.

14

424-62-14250

ELBOW

SN: 10001-19999

1шт.

15

07002-12434

O-RING

SN: 10001-19999

2шт.

16

07260-20920

HOSE

SN: 10001-@

1шт.

17

07260-20963

HOSE

SN: 10001-19999

1шт.

18

07281-00197

CLAMP

SN: 10001-@

4шт.

Выбрано товаров: 18