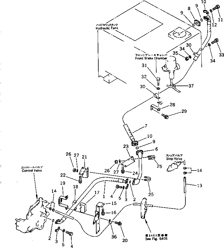
Запчасти Komatsu WA380-1 ГИДРОЛИНИЯ (КЛАПАН - БАК)(№-) УПРАВЛ-Е РАБОЧИМ ОБОРУДОВАНИЕМ

Схема запчастей Komatsu WA380-1 - ГИДРОЛИНИЯ (КЛАПАН - БАК)(№-) УПРАВЛ-Е РАБОЧИМ ОБОРУДОВАНИЕМ
FIT
1:1
100%

Артикул

Название

Примечание

Количество

1

423-62-13550

HOSE

SN: 20001-UP

1шт.

2

07000-13038

O-RING

SN: 20001-UP

2шт.

3

07371-31255

FLANGE,SPLIT

SN: 20001-UP

4шт.

4

07372-21035

BOLT

SN: 20001-UP

8шт.

5

01643-51032

WASHER

SN: 20001-UP

8шт.

6

423-62-13560

TUBE

SN: 20001-UP

1шт.

7

423-62-13590

HOSE

SN: 20001-UP

1шт.

8

424-62-13180

SPACER

SN: 20001-UP

1шт.

8

0

SPACER

SN: (20001-20085)

1шт.

9

07000-13038

O-RING

SN: 20001-UP

3шт.

10

07371-31255

FLANGE,SPLIT

SN: 20001-UP

4шт.

11

07372-21055

BOLT

SN: 20001-UP

8шт.

12

01643-51032

WASHER

SN: 20001-UP

8шт.

13

423-62-13670

HOSE

SN: 20001-UP

1шт.

14

07281-00197

CLAMP

SN: 20001-UP

4шт.

15

423-62-13632

BRACKET

SN: 20001-UP

1шт.

16

01435-01225

BOLT

SN: 20001-UP

2шт.

17

423-62-13651

RUBBER

SN: 20001-UP

1шт.

18

423-62-13641

RUBBER

SN: 20001-UP

1шт.

19

423-62-13740

BRACKET

SN: 20001-UP

1шт.

20

01435-01230

BOLT

SN: 20001-UP

2шт.

21

423-62-13570

BRACKET

SN: 20001-UP

1шт.

22

01435-01025

BOLT

SN: 20001-UP

2шт.

23

423-62-13580

BRACKET

SN: 20001-UP

1шт.

24

01435-01045

BOLT

SN: 20001-UP

2шт.

25

07283-33442

CLIP

SN: 20001-UP

2шт.

26

01599-01011

NUT

SN: 20001-UP

4шт.

27

01643-31032

WASHER

SN: 20001-UP

4шт.

28

423-62-13610

BRACKET

SN: 20001-UP

1шт.

29

01435-01020

BOLT

SN: 20001-UP

2шт.

30

566-03-12620

CLAMP

SN: 20001-UP

2шт.

31

01010-51040

BOLT

SN: 20187-UP

1шт.

31

01435-01035

BOLT

SN: 20001-20186

1шт.

32

01643-31032

WASHER

SN: 20187-UP

1шт.

33

01010-51030

BOLT

SN: 20187-UP

1шт.

33

01435-01025

BOLT

SN: 20001-20186

1шт.

34

01643-31032

WASHER

SN: 20187-UP

2шт.

34

01643-31032

WASHER

SN: 20001-20186

1шт.

35

01580-11008

NUT

SN: 20001-UP

1шт.

36

08036-01814

CLIP

SN: 20001-UP

1шт.

37

08034-00823

BAND

SN: 20001-UP

1шт.

Выбрано товаров: 41