Запчасти Komatsu WA380-1 РЫЧАГ УПРАВЛЕНИЯ РАБОЧИМ ОБОРУДОВАНИЕМ (ДЛЯ MONO РЫЧАГ)(№-) УПРАВЛ-Е РАБОЧИМ ОБОРУДОВАНИЕМ

Схема запчастей Komatsu WA380-1 - РЫЧАГ УПРАВЛЕНИЯ РАБОЧИМ ОБОРУДОВАНИЕМ (ДЛЯ MONO РЫЧАГ)(№-) УПРАВЛ-Е РАБОЧИМ ОБОРУДОВАНИЕМ
FIT
1:1
100%

Артикул

Название

Примечание

Количество

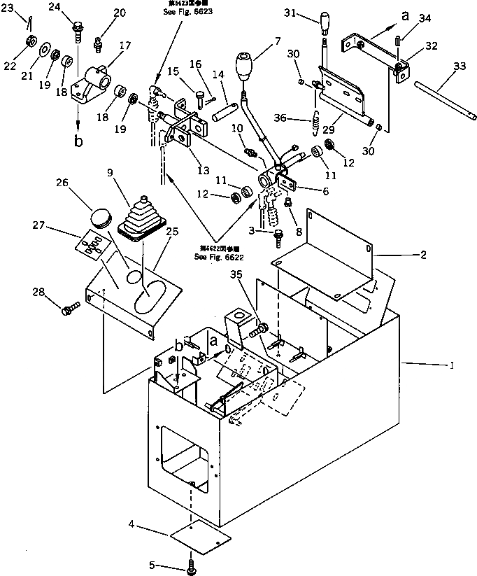
1

424-V91-1191

BOX

SN: 20001-UP

1шт.

2

424-V91-1210

PLATE

SN: 20001-UP

1шт.

3

01435-00610

BOLT

SN: 20001-UP

4шт.

4

424-V91-1230

PLATE

SN: 20001-UP

1шт.

5

01435-00812

BOLT

SN: 20001-UP

2шт.

|$5

424-V91-1110

LEVER ASS'Y

SN: 20001-UP

1шт.

6

424-V91-1120

LEVER

SN: 20001-UP

1шт.

7

421-06-15510

SWITCH

SN: 20001-UP

1шт.

7

421-06-15520

SWITCH

SN: 20001-UP

1шт.

7

421-06-15550

BODY

SN: 20001-UP

1шт.

7

421-06-15530

COVER

SN: 20001-UP

1шт.

7

421-06-15540

SCREW

SN: 20001-UP

1шт.

8

423-43-18350

GROMMET

SN: 20001-UP

1шт.

9

419-43-18160

BOOT

SN: 20001-UP

1шт.

10

07020-00000

FITTING,GREASE

SN: 20001-UP

1шт.

11

06120-02016

BEARING

SN: 20001-UP

2шт.

12

06122-02004

SEAL

SN: 20001-UP

2шт.

13

424-V91-1130

LEVER

SN: 20001-UP

1шт.

14

417-43-18181

PIN

SN: 20001-UP

1шт.

15

20T-26-11220

PIN

SN: 20001-UP

1шт.

16

04050-11612

PIN,COTTER

SN: 20001-UP

1шт.

17

424-V91-1140

BRACKET

SN: 20001-UP

1шт.

18

06120-02016

BEARING

SN: 20001-UP

2шт.

19

06122-02004

SEAL

SN: 20001-UP

2шт.

20

07020-00000

FITTING,GREASE

SN: 20001-UP

1шт.

21

417-43-18170

WASHER

SN: 20001-UP

1шт.

22

01590-01619

NUT

SN: 20001-UP

1шт.

23

04050-14030

PIN,COTTER

SN: 20001-UP

1шт.

24

01435-01025

BOLT

SN: 20001-UP

3шт.

25

424-V91-1180

PLATE

SN: 20001-UP

1шт.

26

09415-03614

CAP

SN: 20001-UP

1шт.

27

417-93-11121

PLATE, OPERATING

SN: 20001-UP

1шт.

28

01435-00812

BOLT

SN: 20001-UP

2шт.

|$33

424-43-18650

LEVER

SN: 20001-UP

1шт.

29

425-43-18151

LEVER

SN: 20001-UP

1шт.

30

421-43-18580

BUSHING

SN: 20001-UP

2шт.

31

09305-00800

KNOB

SN: 20001-UP

1шт.

32

421-43-18860

BRACKET

SN: 20001-UP

1шт.

33

425-43-18221

SHAFT

SN: 20001-UP

1шт.

34

04025-00308

PIN

SN: 20001-UP

1шт.

35

01435-01225

BOLT

SN: 20001-UP

2шт.

36

203-43-21370

SPRING

SN: 20001-UP

1шт.

Выбрано товаров: 42