Запчасти Komatsu WA380-1 КОВШ .9M (ЕСКАНАТ СПЕЦ-Я.) РАБОЧЕЕ ОБОРУДОВАНИЕ

Схема запчастей Komatsu WA380-1 - КОВШ .9M (ЕСКАНАТ СПЕЦ-Я.) РАБОЧЕЕ ОБОРУДОВАНИЕ
FIT
1:1
100%

Артикул

Название

Примечание

Количество

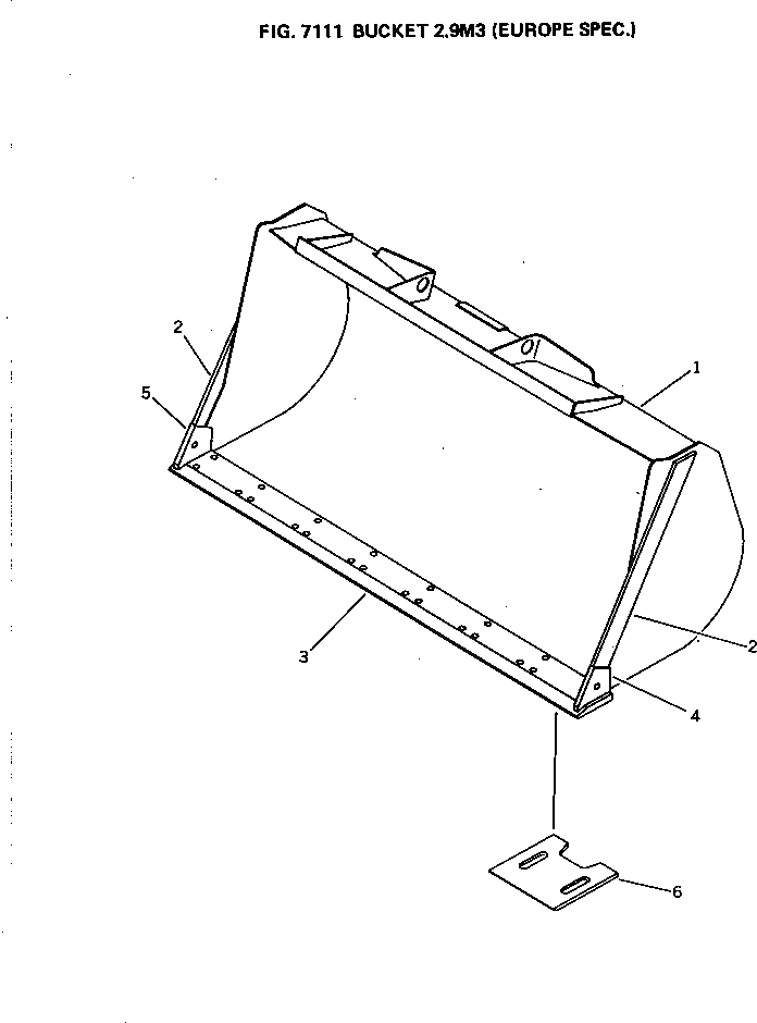
1

423-70-12601

BUCKET ASS'Y

SN: 10001-UP

1шт.

1

0

BUCKET ASS'Y

SN: 10001-.

1шт.

2

423-70-12131

PLATE (WELDED)

SN: 20001-UP

2шт.

2

423-70-12220

PLATE (WELDED)

SN: 10001-19999

2шт.

3

423-70-12520

EDGE (WELDED)

SN: 10001-UP

1шт.

4

423-70-12710

PLATE,L.H. (WELDED)

SN: 20001-UP

1шт.

4

421-70-12260

PLATE,L.H. (WELDED)

SN: 10001-19999

1шт.

5

423-70-12720

PLATE,R.H. (WELDED)

SN: 20001-UP

1шт.

5

421-70-12270

PLATE,R.H. (WELDED)

SN: 10001-19999

1шт.

6

423-70-12140

PLATE (WELDED)

SN: 10001-UP

2шт.

Выбрано товаров: 10