Запчасти Komatsu WA380-1 КОВШ ДЛЯ ЛЕГК. МАТЕРИАЛОВ .8M РАБОЧЕЕ ОБОРУДОВАНИЕ

Схема запчастей Komatsu WA380-1 - КОВШ ДЛЯ ЛЕГК. МАТЕРИАЛОВ .8M РАБОЧЕЕ ОБОРУДОВАНИЕ
FIT
1:1
100%

Артикул

Название

Примечание

Количество

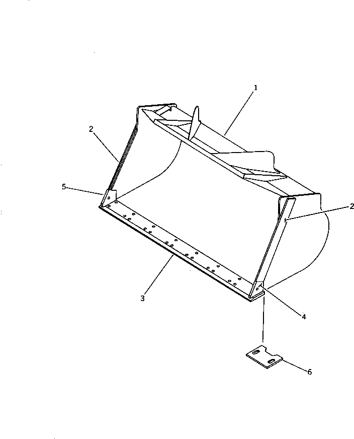
1

423-829-1200

BUCKET ASS'Y

SN: 10001-UP

1шт.

2

423-829-1220

PLATE (WELDED)

SN: 10001-UP

2шт.

3

424-70-12220

EDGE (WELDED)

SN: 10001-UP

1шт.

4

423-70-12152

PLATE,L.H. (WELDED)

SN: 10001-UP

1шт.

5

423-70-12162

PLATE,R.H. (WELDED)

SN: 10001-UP

1шт.

6

423-70-12140

PLATE (WELDED)

SN: 10001-UP

2шт.

Выбрано товаров: 6