Запчасти Komatsu WA380-1 АККУМУЛЯТОР И КОРПУС АККУМУЛЯТОРА (TBG/ABE СПЕЦ-Я.)(№-) СПЕЦ. APPLICATION ЧАСТИ

Схема запчастей Komatsu WA380-1 - АККУМУЛЯТОР И КОРПУС АККУМУЛЯТОРА (TBG/ABE СПЕЦ-Я.)(№-) СПЕЦ. APPLICATION ЧАСТИ
FIT
1:1
100%

Артикул

Название

Примечание

Количество

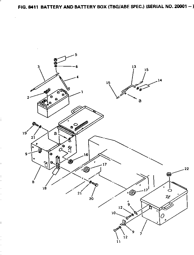
1

08000-02215

BATTERY (145G51)

SN: 20001-UP

2шт.

1

6995-81-3360

BATTERY, 12V 170AH

SN: 20001-UP

2шт.

2

08000-00000

TERMINAL, (+)

SN: 20001-UP

2шт.

2

08000-00001

TERMINAL, (-)

SN: 20001-UP

2шт.

3

421-06-11221

HOLDER

SN: 20001-UP

2шт.

4

113-06-31120

BOLT

SN: 20001-UP

4шт.

5

01580-11008

NUT

SN: 20001-UP

8шт.

6

01643-31032

WASHER

SN: 20001-UP

4шт.

7

424-06-14143

BOX,L.H.

SN: 20001-UP

1шт.

8

424-06-14153

BOX,R.H.

SN: 20001-UP

1шт.

9

421-09-12321

HOLDER

SN: 20001-UP

2шт.

10

01220-40410

SCREW

SN: 20001-UP

4шт.

11

01220-40408

SCREW

SN: 20001-UP

6шт.

12

01641-20405

WASHER

SN: 20001-UP

10шт.

13

424-06-14160

STOPPER

SN: 20001-UP

2шт.

14

01643-31032

WASHER

SN: 20001-UP

4шт.

15

04050-13018

PIN,COTTER

SN: 20001-UP

8шт.

16

426-09-11230

GROMMET

SN: 20001-UP

2шт.

17

424-06-14170

GROMMET

SN: 20001-UP

2шт.

18

423-06-11451

SHIM, 1.0MM

SN: 20001-UP

4шт.

18

421-06-14120

SHIM, 3.2MM

SN: 20001-UP

4шт.

19

01010-51675

BOLT

SN: 20001-UP

2шт.

20

01010-51645

BOLT

SN: 20001-UP

4шт.

21

01643-31645

WASHER

SN: 20001-UP

6шт.

22

08037-05016

GROMMET

SN: 20001-UP

2шт.

Выбрано товаров: 0