Запчасти Komatsu WA380-1 ВОЗДУХОВОД (СУХ. БАК)(№-) ВЕДУЩ. ВАЛ¤ ДИФФЕРЕНЦ. И КОЛЕСА

Схема запчастей Komatsu WA380-1 - ВОЗДУХОВОД (СУХ. БАК)(№-) ВЕДУЩ. ВАЛ¤ ДИФФЕРЕНЦ. И КОЛЕСА
FIT
1:1
100%

Артикул

Название

Примечание

Количество

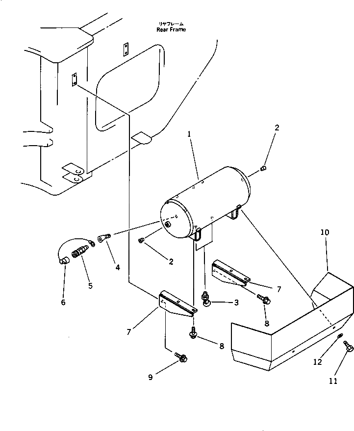
1

421-35-13460

TANK,DRY AIR

SN: 20001-UP

1шт.

2

07043-40415

PLUG

SN: 20001-UP

2шт.

3

22X-44-11210

VALVE

SN: 10001-UP

2шт.

4

07323-B0200

ELBOW

SN: 20001-UP

1шт.

5

07880-10500

SOCKET,COUPLING

SN: 20001-UP

1шт.

6

426-35-15410

CAP

SN: 20001-UP

1шт.

7

421-35-13871

BRACKET

SN: 20001-UP

2шт.

8

01435-01225

BOLT

SN: 20001-UP

6шт.

9

01435-01220

BOLT

SN: 20001-UP

2шт.

10

421-35-13910

COVER

SN: 20001-UP

1шт.

11

01010-51220

BOLT

SN: 20001-UP

2шт.

12

01643-31232

WASHER

SN: 20001-UP

2шт.

Выбрано товаров: 12