Качественные детали и логистика
Оригинальные и аналоговые запчасти с доставкой по России, Казахстану и Беларуси
©2022 PartSell ООО "Система" ИНН 2463123282 ОГРН 1212400004838
Центральный офис: г. Красноярск, Академика Киренского, д.87, пом.4
Телефон: 8 (800) 777-65-74 Email: zakaz@partsell.ru
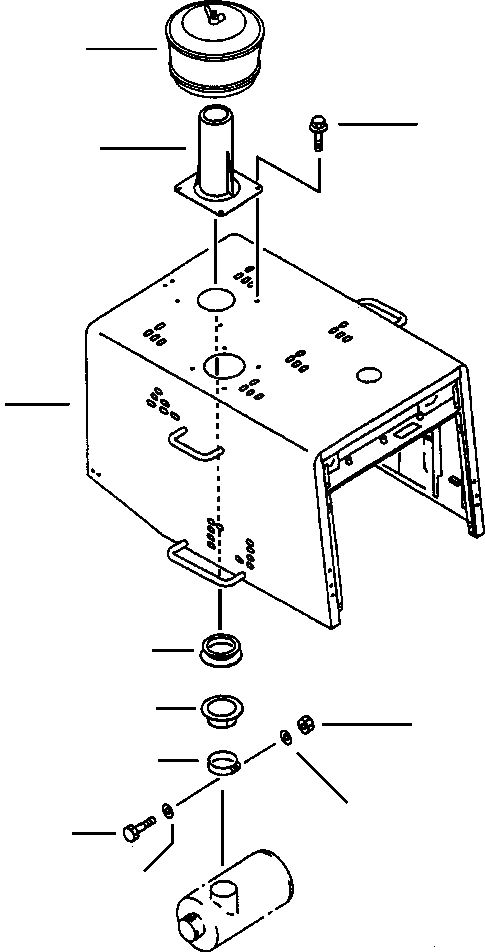
FIG NO. ПРЕФИЛЬТР
№
Артикул
Название
Примечание
Количество
1
41K-13-11110
PRECLEANER
1шт.
2
423-U12-1110
TUBE, AIR INLET
3
01435-01220
BOLT
4шт.
4
424-54-14360
BOOT, TOP
5
423-Z04-1330
PIPE, LOWER
6
417-02-12121
CLAMP
7
01010-51275
8
01640-21223
WASHER
2шт.
9
01580-11210
NUT
10
HOOD, MODIFIED
Выбрано товаров: 0