Качественные детали и логистика
Оригинальные и аналоговые запчасти с доставкой по России, Казахстану и Беларуси
©2022 PartSell ООО "Система" ИНН 2463123282 ОГРН 1212400004838
Центральный офис: г. Красноярск, Академика Киренского, д.87, пом.4
Телефон: 8 (800) 777-65-74 Email: zakaz@partsell.ru
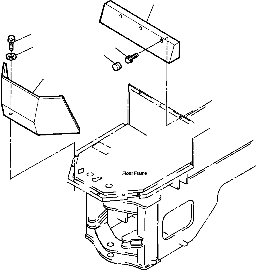
FIG NO. ПОЛ ЧАСТИ КОРПУСА БЕЗ КАБИНЫ
№
Артикул
Название
Примечание
Количество
1
421-54-16110
GUARD, FRONT
1шт.
2
01010-51225
BOLT, MOUNT GUARD
6шт.
3
424-54-17192
COVER, REAR
4
01435-01265
BOLT, MOUNT COVER
3шт.
5
09415-03614
CAP
6
01643-31232
WASHER
Выбрано товаров: 0