Запчасти Komatsu WA380-1LC FIG NO. 9 OPERATORS КАБИНА РАБОЧ. ОСВЕЩЕНИЕ РАМА, ЧАСТИ КОРПУСА & SUPERSTRUCTURE

Схема запчастей Komatsu WA380-1LC - FIG NO. 9 OPERATORS КАБИНА РАБОЧ. ОСВЕЩЕНИЕ РАМА, ЧАСТИ КОРПУСА & SUPERSTRUCTURE
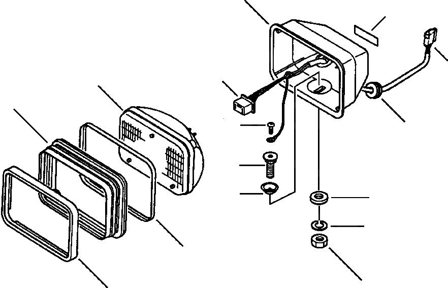
1
7
6
6
2
3
13
14
9
10
8
12
4
11
5
FIT
1:1
100%

Артикул

Название

Примечание

Количество

|$0

22W-06-12381

LIGHT ASSY, WORK

2шт.

1

22W-06-12280

HOUSING

1шт.

2

22W-06-12170

BULB - 70 WATT

1шт.

3

22W-06-12290

CUSHION

1шт.

4

22W-06-12130

RING

1шт.

5

22W-06-12120

RING

1шт.

6

22W-06-12180

HARNESS, WIRE

1шт.

7

22W-06-12190

PLATE, NAME

1шт.

8

22W-06-12160

SEAT, MOUNTING

1шт.

9

22W-06-12140

BOLT, MOUNTING

1шт.

10

22W-06-12150

WASHER, MOUNTING BOLT

1шт.

11

01582-11411

NUT, MOUNTING

1шт.

12

01602-21442

WASHER, MOUNTING

1шт.

13

04418-03060

RIVET

1шт.

14

09415-01008

GROMMET

1шт.

Выбрано товаров: 15