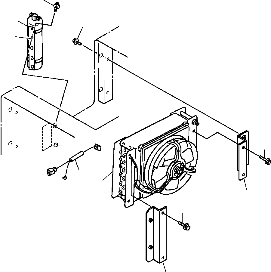
Запчасти Komatsu WA380-1LC FIG NO. КОНДИЦ. ВОЗДУХА КРЕПЛЕНИЕ КОНДЕНСАТОРА заводской номер A, A7 И UP РАМА, ЧАСТИ КОРПУСА & SUPERSTRUCTURE

Схема запчастей Komatsu WA380-1LC - FIG NO. КОНДИЦ. ВОЗДУХА КРЕПЛЕНИЕ КОНДЕНСАТОРА заводской номер A, A7 И UP РАМА, ЧАСТИ КОРПУСА & SUPERSTRUCTURE
8
6
5
7
4
9
1
3
4
2
FIT
1:1
100%

Артикул

Название

Примечание

Количество

1

CONDENSER (SEE PG 05-188)

-29шт.

2

423-963-1430

BRACKET, LH

1шт.

3

423-963-1360

BRACKET, RH

1шт.

4

01435-01016

BOLT

4шт.

5

01435-01220

BOLT

4шт.

6

425-963-A221

RECEIVER DRIER

1шт.

7

425-963-A210

BRACKET, RECEIVER

1шт.

|$7

425-963-A720

BOLT, HEX - M5x20

4шт.

8

01435-00820

BOLT

2шт.

9

421-963-1350

WIRE

1шт.

Выбрано товаров: 10