Запчасти Komatsu WA380-1LC FIG NO. ГИДРОЛИНИЯ АККУМУЛЯТОР - СОЛЕНОИДНЫЙ КЛАПАН - ECSS УПРАВЛ-Е РАБОЧИМ ОБОРУДОВАНИЕМ

Схема запчастей Komatsu WA380-1LC - FIG NO. ГИДРОЛИНИЯ АККУМУЛЯТОР - СОЛЕНОИДНЫЙ КЛАПАН - ECSS УПРАВЛ-Е РАБОЧИМ ОБОРУДОВАНИЕМ
15
20
13
21
14
24
30
34
25
16
17
22
18
29
19
28
11
12
27
11
35
31
26
23
33
32
31
32
33
4
4
30
5
2
1
6
10
35
8
27
29
28
27
28
29
9
3
7
FIT
1:1
100%

Артикул

Название

Примечание

Количество

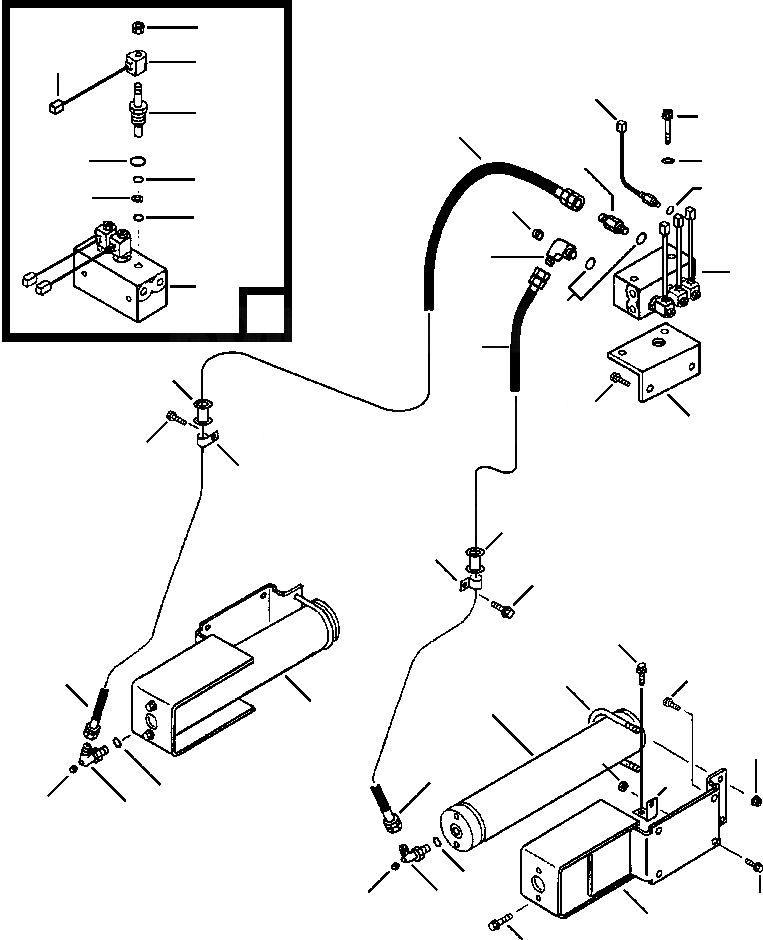
1

ACCUMULATOR, LO PRESSURE (SEE PG 06-062)

-29шт.

2

ACCUMULATOR, HI PRESSURE (SEE PG 06-064)

-29шт.

3

423-S99-2120

BRACKET

2шт.

4

01435-01220

BOLT

8шт.

5

417-S99-2240

CLIP

2шт.

6

01594-01008

NUT

4шт.

7

01435-01225

BOLT

4шт.

8

424-S99-1160

PLATE

2шт.

9

01435-01225

BOLT

2шт.

10

01584-01210

NUT

2шт.

11

421-S99-1140

VALVE ASSY, SOLENOID

1шт.

12

421-S99-1141

BLOCK

2шт.

|$12

421-S99-1480

SOLENOID ASSY

3шт.

13

421-S99-1940

SOLENOID

1шт.

14

421-S99-1950

VALVE

1шт.

15

421-S99-1960

NUT

1шт.

16

421-S99-1910

O-RING

1шт.

17

421-S99-1920

O-RING

1шт.

18

421-S99-1930

RING

1шт.

19

07002-12434

O-RING

3шт.

20

08055-00282

CONNECTOR

3шт.

21

418-S99-1140

SWITCH, PRESSURE

1шт.

22

07002-11423

O-RING

1шт.

23

423-S99-2110

BRACKET

1шт.

24

01011-51225

BOLT

2шт.

25

01643-31232

WASHER

2шт.

26

01435-01225

BOLT

2шт.

27

07002-12434

O-RING

4шт.

28

07235-50522

ELBOW

3шт.

29

07042-30108

PLUG

3шт.

30

07123-00512

HOSE

1шт.

31

07095-20523

CUSHION

2шт.

32

04434-53412

CLIP

2шт.

33

01435-01014

BOLT

2шт.

34

07230-20522

UNION

2шт.

35

07123-00511

HOSE

1шт.

Выбрано товаров: 36