Запчасти Komatsu WA380-3 BULKHEAD

Схема запчастей Komatsu WA380-3 - BULKHEAD
17
16
7
6
4
7
5
13
5
7
4
1
2
3
10
9
8
10
12
14
15
15
13
21
20
18
19
11
FIT
1:1
100%

Артикул

Название

Примечание

Количество

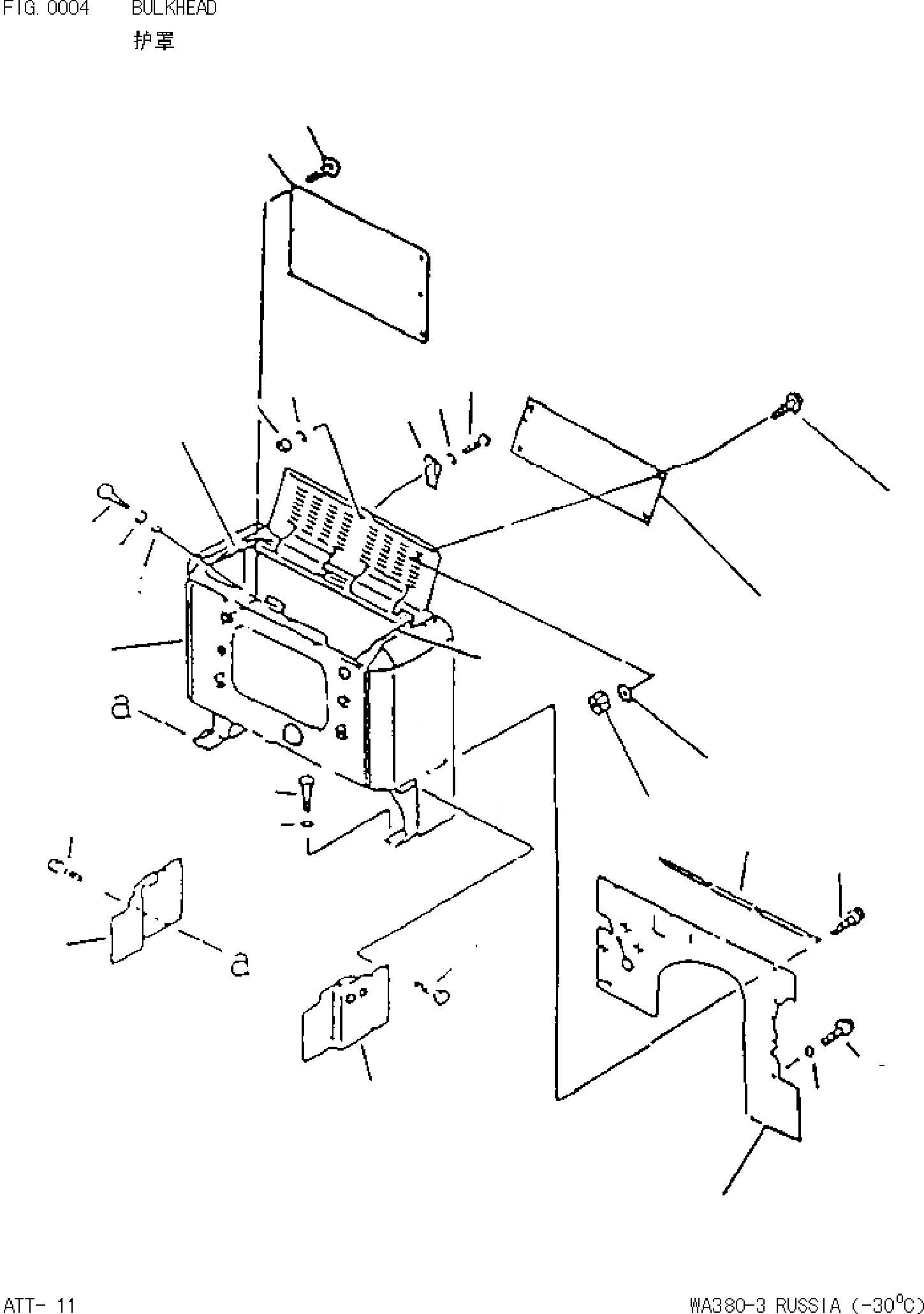
1

423S622190

BULKHEAD

1шт.

2

0101081430

BOLT

6шт.

3

0164331445

WASHER

6шт.

4

4210912321

HOLDER

1шт.

5

0122040412

SCREW

5шт.

6

0158060403

NUT

5шт.

7

0160120410

WASHER

10шт.

8

4235421580

COVER(L.H)

1шт.

9

4235421590

COVER(R.H)

1шт.

10

0143501220

BOLT

8шт.

11

4235421320

SEAL DOOR

2шт.

12

42354Z9550

RUBBER

1шт.

13

4215421350

PLATE

1шт.

14

4216214740

WASHER

2шт.

15

0143501020

BOLT

6шт.

16

424W93Z740

PLATE

1шт.

17

0143501016

BOLT

6шт.

18

423W93Z7B0

PLATE

1шт.

19

0143501016

BOLT

4шт.

20

0158001008

NUT

4шт.

21

0164331032

WASHER

4шт.

Выбрано товаров: 21