Качественные детали и логистика
Оригинальные и аналоговые запчасти с доставкой по России, Казахстану и Беларуси
©2022 PartSell ООО "Система" ИНН 2463123282 ОГРН 1212400004838
Центральный офис: г. Красноярск, Академика Киренского, д.87, пом.4
Телефон: 8 (800) 777-65-74 Email: zakaz@partsell.ru
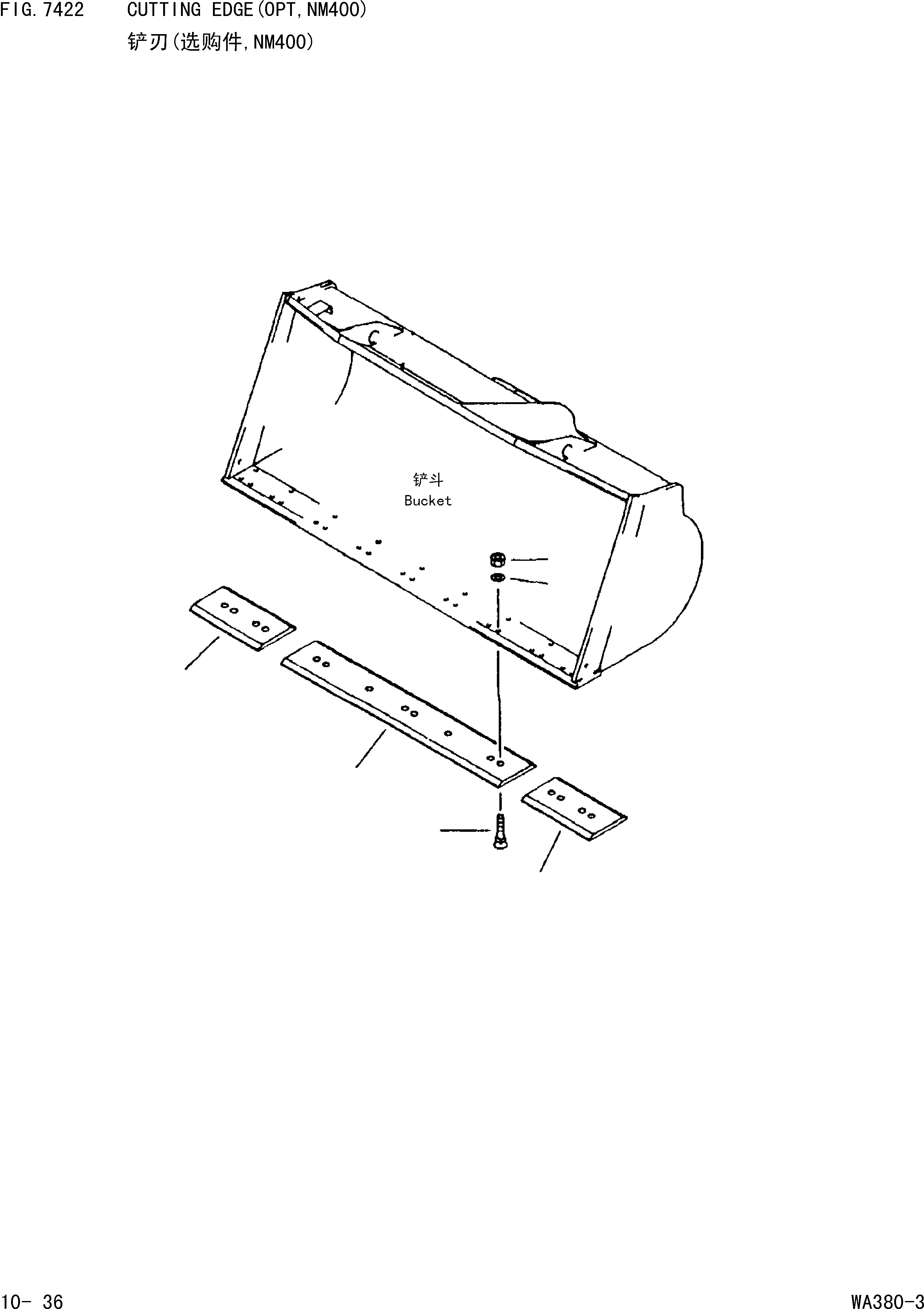
РЕЖУЩ. КРОМКА(OPT,NM)
№
Артикул
Название
Примечание
Количество
1
424-815-D110
EDGE.CENTER(L=1748MM)
Field_1: 16001-
1шт.
2
424-815-D130
EDGE.SIDE(L=575MM)
2шт.
3
02090-11485
BOLT
16шт.
4
02290-11422
NUT
5
01643-32260
WASHER
Выбрано товаров: 0