Запчасти Komatsu WA380-3 ПРАВ. КОНСОЛЬН. БЛОК (С РЕМЕНЬ БЕЗОПАСНОСТИ)(№-) РАМА И ЧАСТИ КОРПУСА

Схема запчастей Komatsu WA380-3 - ПРАВ. КОНСОЛЬН. БЛОК (С РЕМЕНЬ БЕЗОПАСНОСТИ)(№-) РАМА И ЧАСТИ КОРПУСА
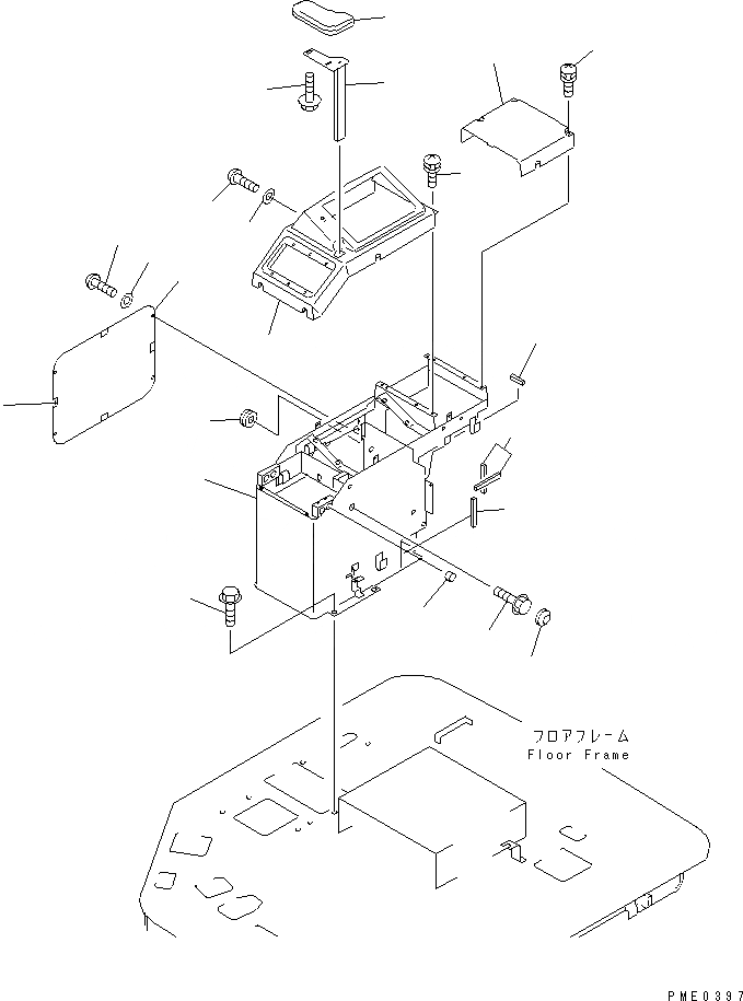
1
2
2
3
4
5
6
7
8
9
10
11
12
13
14
15
16
17
18
19
20
21
FIT
1:1
100%

Артикул

Название

Примечание

Количество

1

421-54-22710

BOX,CONSOLE

SN: 50001-UP

1шт.

2

421-54-22520

FINISHER

SN: 50001-UP

3шт.

3

421-54-22970

PROTECTOR

SN: 50001-UP

1шт.

4

421-09-21450

PLUG

SN: 50001-UP

1шт.

5

01435-01220

BOLT

SN: 50001-UP

4шт.

6

421-54-22720

PLATE

SN: 50001-UP

1шт.

7

421-09-21420

SHEET

SN: 50001-UP

4шт.

8

01220-70616

SCREW

SN: 50001-UP

4шт.

9

01642-40608

WASHER

SN: 50001-UP

4шт.

10

421-54-22840

COVER,R.H.

SN: 50001-UP

1шт.

11

421-54-22880

BRACKET

SN: 50001-UP

1шт.

12

421-54-22870

PAD ASS'Y

SN: 50001-UP

1шт.

13

01435-00616

BOLT

SN: 50001-UP

2шт.

14

421-09-21410

SCREW

SN: 50001-UP

5шт.

15

01220-70616

SCREW

SN: 50001-UP

1шт.

16

01642-40608

WASHER

SN: 50001-UP

1шт.

17

421-54-22850

COVER

SN: 50001-UP

1шт.

18

421-09-21410

SCREW

SN: 50001-UP

4шт.

19

01435-01035

BOLT

SN: 50001-UP

1шт.

20

363-54-31450

CAP,BOLT

SN: 50001-UP

1шт.

21

09415-01008

CAP

SN: 50001-UP

1шт.

Выбрано товаров: 21