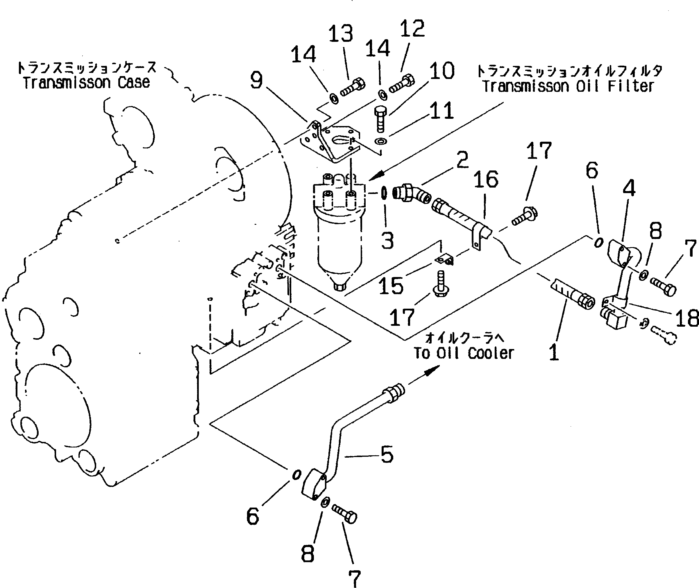
Запчасти Komatsu WA380-3 ТРАНСМИССИЯ (ГИДРОЛИНИЯ ТРАНСМИССИИ) (/)(№-) ТРАНСМИССИЯ

Схема запчастей Komatsu WA380-3 - ТРАНСМИССИЯ (ГИДРОЛИНИЯ ТРАНСМИССИИ) (/)(№-) ТРАНСМИССИЯ
FIT
1:1
100%

Артикул

Название

Примечание

Количество

|$0

714-12-10010

TORQFLOW ASS'Y

SN: 50001-UP

1шт.

|$$2

THIS ASSEMBLY CONSISTS OF ALL PARTS SHOWN IN FIGS.2201 TO 2271.

-1шт.

1

714-12-18410

HOSE

SN: 50001-UP

1шт.

2

419-15-14670

ELBOW

SN: 50001-UP

1шт.

3

07002-03334

O-RING (K3)

SN: 50001-UP

1шт.

4

714-12-18170

TUBE

SN: 50001-UP

1шт.

5

714-12-18180

TUBE

SN: 50001-UP

1шт.

6

07000-73028

O-RING (K3)

SN: 50001-UP

2шт.

7

01010-81060

BOLT

SN: 50001-UP

4шт.

8

01643-31032

WASHER

SN: 50001-UP

4шт.

9

714-12-18751

SUPPORT

SN: 50001-UP

1шт.

10

01010-81035

BOLT

SN: 50001-UP

4шт.

11

01643-31032

WASHER

SN: 50001-UP

4шт.

12

01010-81235

BOLT

SN: 50001-UP

1шт.

13

01010-81280

BOLT

SN: 50001-UP

2шт.

14

01643-31232

WASHER

SN: 50001-UP

3шт.

15

714-12-18761

PLATE

SN: 50001-UP

1шт.

16

714-12-18450

CLAMP

SN: 50001-UP

1шт.

17

01435-01016

BOLT

SN: 50001-UP

2шт.

18

04434-52711

CLIP

SN: 50001-UP

1шт.

Выбрано товаров: 20