Запчасти Komatsu WA380-3 E.C.S.S PRESSURE БАК,СОЛЕНОИДНЫЙ КЛАПАН И PIPES E.C.S.S PRESSURE БАК,СОЛЕНОИДНЫЙ КЛАПАН И PIPES

Схема запчастей Komatsu WA380-3 - E.C.S.S PRESSURE БАК,СОЛЕНОИДНЫЙ КЛАПАН И PIPES E.C.S.S PRESSURE БАК,СОЛЕНОИДНЫЙ КЛАПАН И PIPES
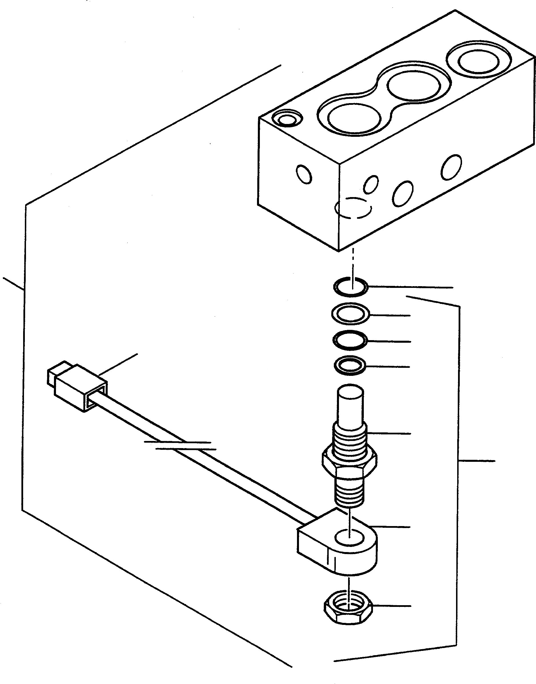
1
9
8
7
10
6
5
2
4
3
FIT
1:1
100%

Артикул

Название

Примечание

Количество

1

421-S99-1131

VALVE

1шт.

2

421-S99-1480

SOLENOID VALVE

3шт.

3

421-S99-1960

NUT

1шт.

4

421-S99-1940

MAGNET

1шт.

5

421-S99-1950

VALVE

1шт.

6

421-S99-1910

O-RING

1шт.

7

421-S99-1920

O-RING

1шт.

8

421-S99-1930

RING

1шт.

9

07002-12434

O-RING

3шт.

10

08055-00282

CABLE

3шт.

Выбрано товаров: 10