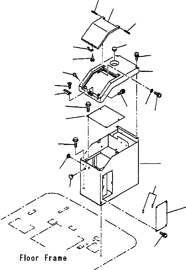
Запчасти Komatsu WA380-3L КОНСОЛЬН. БЛОК ЛЕВ. -

Схема запчастей Komatsu WA380-3L - КОНСОЛЬН. БЛОК ЛЕВ. -
12
9
12
13
10
14
11
6
5
8
7
4
15
16
14
3
2
1
21
18
20
17
19
FIT
1:1
100%

Артикул

Название

Примечание

Количество

1

421-54-22660

BOX, CONSOLE

1шт.

2

01435-01220

BOLT

3шт.

3

421-54-22680

PLATE

1шт.

4

01435-00612

BOLT

4шт.

|$4

421-54-22600

COVER ASSEMBLY, L.H

1шт.

5

421-54-22610

COVER, L.H

1шт.

6

421-54-22590

CUSHION

2шт.

7

421-54-22670

CATCHER

1шт.

8

421-54-22690

SCREW

2шт.

9

421-54-22620

COVER

1шт.

10

421-54-22630

PLATE

1шт.

11

421-54-22640

SCREW

2шт.

12

421-54-22550

PIN, SPRING

2шт.

13

421-54-22560

PLUG

1шт.

14

421-09-21410

SCREW

4шт.

15

01642-40608

WASHER

2шт.

16

421-09-21460

SCREW

2шт.

17

421-54-22920

PLATE

1шт.

18

421-09-21420

SHEET

2шт.

19

421-09-21410

SCREW

4шт.

20

421-54-21850

PLUG

1шт.

21

363-54-32220

PLUG, WITHOUT SEAT BELT

1шт.

Выбрано товаров: 22