Запчасти Komatsu WA380-3L ТРАНСМИССИЯ КОРПУС ТРАНСМИССИИ -

Схема запчастей Komatsu WA380-3L - ТРАНСМИССИЯ КОРПУС ТРАНСМИССИИ -
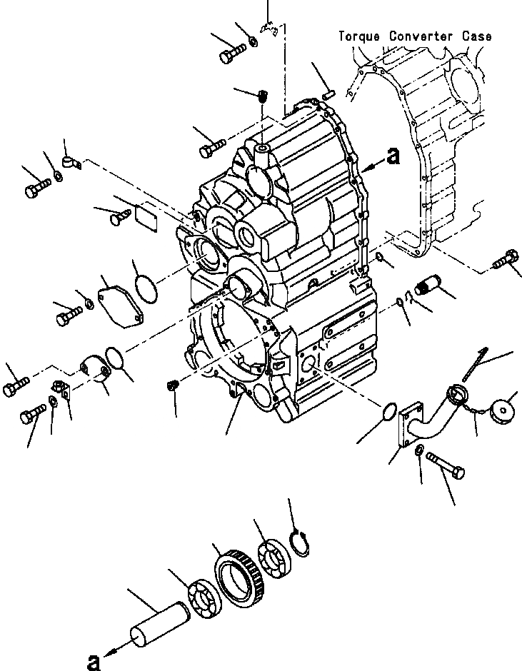
39
8
7
4
38
6
22
24
23
13
14
19
18
5
21
9
20
10
12
11
32
30
33
26
25
3
27
29
34
1
35
28
31
17
37
16
36
15
16
2
FIT
1:1
100%

Артикул

Название

Примечание

Количество

|$0

TRANSMISSION ASSEMBLY (SEE PG 02-004)

-29шт.

|$1

714-12-11111

CASE ASSEMBLY, TRANSMISSION

1шт.

1

NSS

CASE

1шт.

2

714-12-16510

SHAFT

1шт.

3

07043-00108

PLUG

1шт.

4

04020-01434

PIN, DOWEL

2шт.

5

07000-02014

O-RING

1шт.

6

01010-31240

BOLT

12шт.

7

01010-31245

BOLT

2шт.

8

01643-31232

WASHER

2шт.

9

01010-31235

BOLT

2шт.

10

419-15-18241

PLUG

1шт.

11

07002-02434

O-RING

1шт.

12

419-15-18251

RING, SNAP

1шт.

13

NSS

PLATE, NAME

1шт.

14

04418-13060

SCREW

4шт.

15

714-12-16610

GEAR, 34 TEETH - IDLER

1шт.

16

714-12-19320

BEARING

2шт.

17

04064-06020

RING, SNAP

1шт.

18

417-15-14160

COVER

1шт.

19

07000-02105

O-RING

1шт.

20

01010-31235

BOLT

2шт.

21

01643-31232

WASHER

2шт.

22

08036-01014

CLIP

1шт.

23

01010-31225

BOLT

1шт.

24

01643-31232

WASHER

1шт.

25

714-13-11350

COVER

1шт.

26

07000-02065

O-RING

1шт.

27

42A-15-11210

PLATE

1шт.

28

01010-31235

BOLT

1шт.

29

01643-31232

WASHER

1шт.

30

01010-31225

BOLT

1шт.

31

714-12-18510

TUBE, FILLER

1шт.

32

419-15-14424

GAUGE, OIL LEVEL

1шт.

33

6136-21-7120

CAP ASSEMBLY

1шт.

34

6136-21-7190

CHAIN

1шт.

35

07000-02065

O-RING

1шт.

36

01010-31040

BOLT

4шт.

37

01643-31032

WASHER

4шт.

38

07049-02025

PLUG

1шт.

39

ANGLE, TRANSMISSION PIPING (SEE PG 02-048)

-29шт.

N/I

419-15-18131

GASKET, LIQUID

1шт.

Выбрано товаров: 42