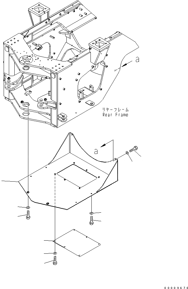
Запчасти Komatsu WA380-5 БЛОКИР. ШАНГА И КРЫШКА(T/M НИЖН. ЗАЩИТА) ОСНОВНАЯ РАМА И ЕЕ ЧАСТИ

Схема запчастей Komatsu WA380-5 - БЛОКИР. ШАНГА И КРЫШКА(T/M НИЖН. ЗАЩИТА) ОСНОВНАЯ РАМА И ЕЕ ЧАСТИ
1
2
2
3
4
4
4
5
6
7
FIT
1:1
100%

Артикул

Название

Примечание

Количество

1

423-Z90-3410

UNDER GUARD

SN: 60001-UP

1шт.

2

01010-D1225

BOLT

SN: 60001-UP

6шт.

3

01010-D1240

BOLT

SN: 60001-UP

2шт.

4

01643-71232

WASHER

SN: 60001-UP

8шт.

5

423-46-34130

PLATE

SN: 60001-UP

1шт.

6

01010-D1020

BOLT

SN: 60001-UP

6шт.

7

01643-71032

WASHER

SN: 60001-UP

6шт.

Выбрано товаров: 7