Запчасти Komatsu WA380-5 КОРПУС АККУМУЛЯТОРА (ЛЕВ.) ЭЛЕКТРИКА

Схема запчастей Komatsu WA380-5 - КОРПУС АККУМУЛЯТОРА (ЛЕВ.) ЭЛЕКТРИКА
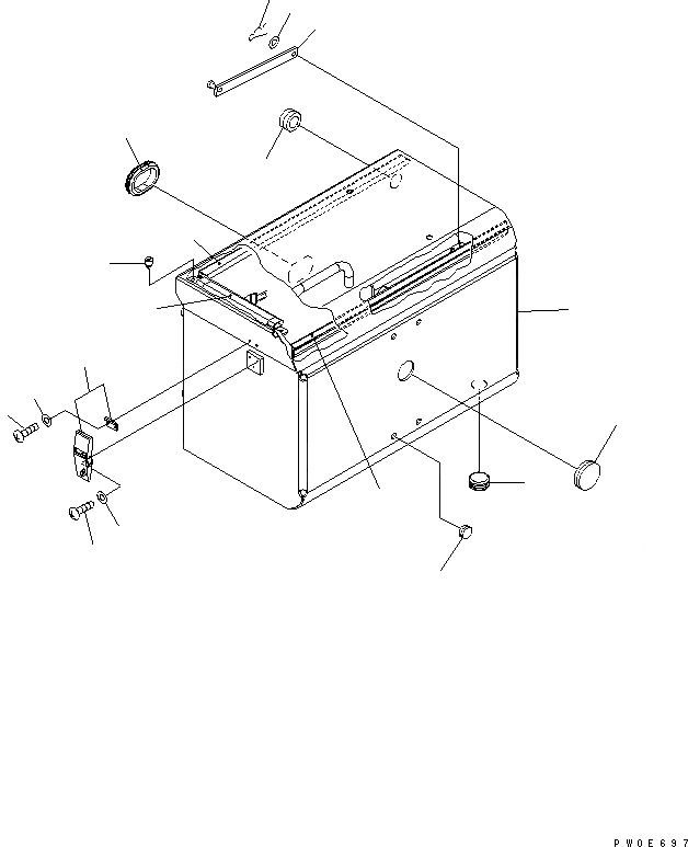
1
2
3
4
5
6
7
8
9
10
11
11
12
13
14
15
16
17
FIT
1:1
100%

Артикул

Название

Примечание

Количество

|$4

423-06-32100

BATTERY BOX,L.H.

SN: 60001-UP

1шт.

1

423-06-34112

BATTERY BOX

SN: 60001-UP

1шт.

2

421-06-34110

BAR

SN: 60001-UP

1шт.

3

01640-20816

WASHER

SN: 60001-UP

1шт.

4

04052-10833

PIN,SNAP

SN: 60001-UP

1шт.

5

423-06-34150

SEAL,DOOR

SN: 60001-UP

1шт.

6

426-09-11230

GROMMET

SN: 60001-UP

1шт.

7

09415-02520

CAP

SN: 60001-UP

1шт.

8

421-09-12322

HOLDER

SN: 60001-UP

1шт.

9

01220-40408

SCREW

SN: 60001-UP

3шт.

10

01220-40410

SCREW

SN: 60001-UP

2шт.

11

01641-20405

WASHER

SN: 60001-UP

5шт.

12

419-54-16510

SEAL,DOOR

SN: 60001-UP

1шт.

13

22T-54-12460

SEAL,DOOR

SN: 60001-UP

1шт.

14

09415-00706

CAP

SN: 60001-UP

4шт.

15

09415-03614

CAP

SN: 60001-UP

1шт.

16

415-54-11980

CUSHION

SN: 60001-UP

2шт.

17

09415-02520

CAP

SN: 60001-UP

1шт.

Выбрано товаров: 18