Запчасти Komatsu WA380-5 ОТВАЛ (SLIDE ТИП MULTI ОТВАЛ) (SLED¤ ПРАВ.)(№7-) РАБОЧЕЕ ОБОРУДОВАНИЕ

Схема запчастей Komatsu WA380-5 - ОТВАЛ (SLIDE ТИП MULTI ОТВАЛ) (SLED¤ ПРАВ.)(№7-) РАБОЧЕЕ ОБОРУДОВАНИЕ
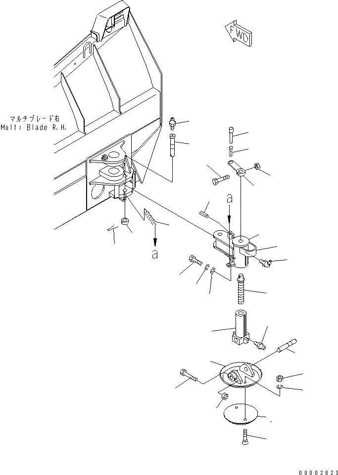
1
2
3
4
5
6
7
8
9
10
11
12
13
14
15
16
17
18
19
20
21
22
23
24
24
25
26
27
FIT
1:1
100%

Артикул

Название

Примечание

Количество

|1

419-S74-2430

SLED ASS'Y

SN: 60175-UP

1шт.

|1

419-S72-2430

SLED ASS'Y,R.H.

SN: 60175-UP

1шт.

1

419-S72-2470

SUPPORT

SN: 60175-UP

1шт.

2

423-904-1420

HOLDER

SN: 60001-UP

1шт.

3

419-S72-2440

SLED

SN: 60175-UP

1шт.

4

423-904-1441

LEVER

SN: 60001-UP

1шт.

5

419-S72-2450

PLATE

SN: 60175-UP

1шт.

6

02090-11045

BOLT

SN: 60001-UP

2шт.

7

01602-01648

WASHER,SPRING

SN: 60001-UP

2шт.

8

02290-11016

NUT

SN: 60001-UP

2шт.

9

423-904-1461

SCREW,SET

SN: 60001-UP

1шт.

10

423-904-1470

PIN

SN: 60001-UP

1шт.

11

01010-81075

BOLT

SN: 60001-UP

1шт.

12

01010-81270

BOLT

SN: 60001-UP

1шт.

13

01596-01009

NUT

SN: 60001-UP

1шт.

14

01596-01211

NUT

SN: 60001-UP

1шт.

15

423-904-1480

PIN

SN: 60001-UP

1шт.

16

423-904-1491

PIN

SN: 60001-UP

1шт.

17

423-904-1510

COLLAR

SN: 60001-UP

1шт.

18

04050-16070

PIN,COTTER

SN: 60001-UP

1шт.

19

423-904-1520

SPRING

SN: 60001-UP

1шт.

20

04025-00650

PIN,SPRING

SN: 60001-UP

1шт.

21

01010-81230

BOLT

SN: 60001-UP

1шт.

22

01602-21236

WASHER,SPRING

SN: 60001-UP

1шт.

23

01643-31232

WASHER

SN: 60001-UP

1шт.

24

07020-00000

FITTING,GREASE

SN: 60001-UP

2шт.

25

419-S74-2440

PLATE

SN: 60175-UP

1шт.

26

07020-00675

FITTING,GREASE

SN: 60001-UP

1шт.

27

419-S72-2480

SPRING

SN: 60175-UP

1шт.

Выбрано товаров: 29