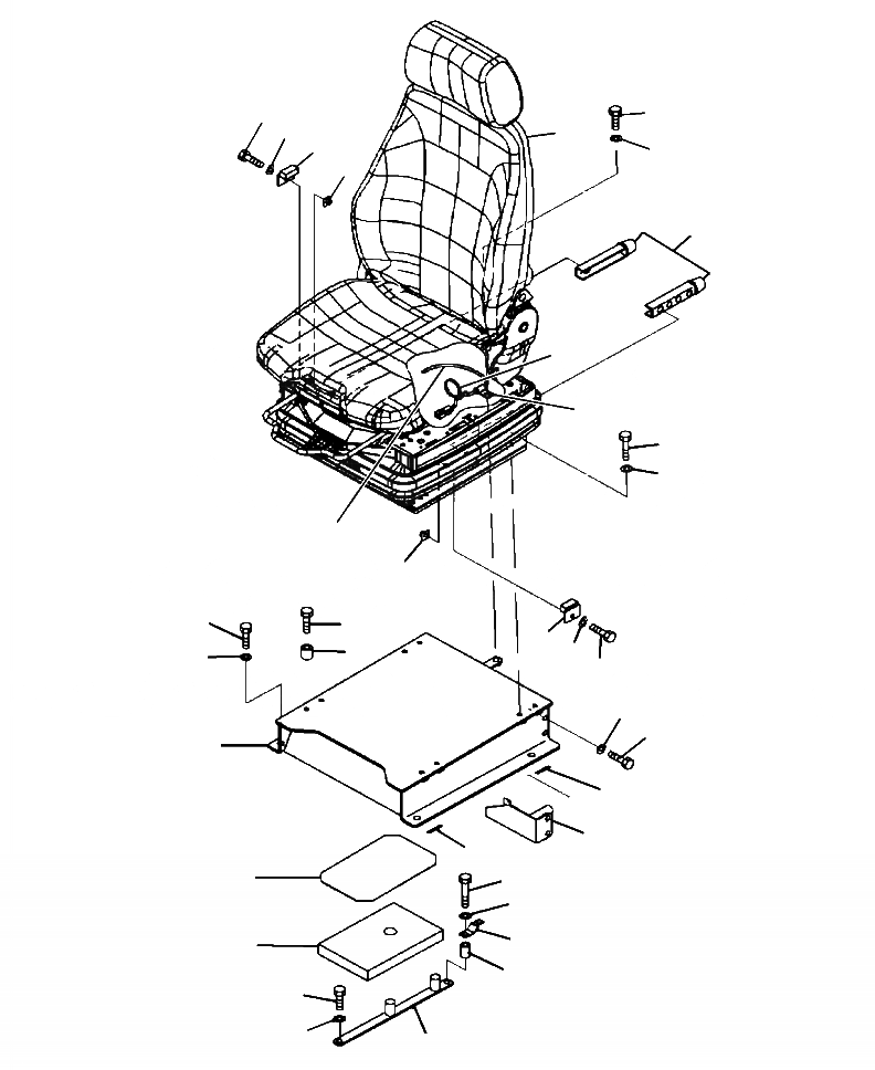
Запчасти Komatsu WA380-6 K-A OPERATORS СИДЕНЬЕ ДЖОЙСТИК РУЛЕВ. УПРАВЛЕНИЕ (КРЕПЛЕНИЕ) OPERATORXD S ОБСТАНОВКА И СИСТЕМА УПРАВЛЕНИЯ

Схема запчастей Komatsu WA380-6 - K-A OPERATORS СИДЕНЬЕ ДЖОЙСТИК РУЛЕВ. УПРАВЛЕНИЕ (КРЕПЛЕНИЕ) OPERATORXD S ОБСТАНОВКА И СИСТЕМА УПРАВЛЕНИЯ
5
19
6
1
2
20
3
4
21
18
10
11
7
3
13
9
2
6
8
14
5
17
16
12
31
15
31
25
29
26
24
30
23
27
28
22
FIT
1:1
100%

Артикул

Название

Примечание

Количество

|$0

425-S33-3511

SEAT ASSEMBLY

SN: A53001--UP

1шт.

1

SEAT ASSEMBLY (SEE FIG. K0110-07A1)

SN: A53001--UP

-1шт.

2

428-S33-2752

SPACER

SN: A53001--UP

2шт.

3

428-S33-2760

PLATE

SN: A53001--UP

2шт.

4

428-S33-2790

STOPPER

SN: A53001--UP

2шт.

5

01010-80816

BOLT

SN: A53001--UP

2шт.

6

01643-30823

WASHER

SN: A53001--UP

2шт.

7

08192-12810

CONNECTOR

SN: A53001--UP

1шт.

8

11T-27-11180

SPACER

SN: A53001--UP

1шт.

9

01252-70845

BOLT

SN: A53001--UP

4шт.

10

01010-D0835

BOLT

SN: A53001--UP

4шт.

11

01643-50823

WASHER

SN: A53001--UP

4шт.

12

423-S33-4111

BRACKET

SN: A53001--UP

1шт.

13

01010-81230

BOLT

SN: A53001--UP

4шт.

14

01643-51232

WASHER

SN: A53001--UP

4шт.

15

423-S33-4131

BRACKET

SN: A53001--UP

1шт.

16

01010-81025

BOLT

SN: A53001--UP

2шт.

17

01643-31032

WASHER

SN: A53001--UP

2шт.

18

04434-50812

CLIP

SN: A53001--UP

1шт.

19

01010-81025

BOLT

SN: A53001--UP

1шт.

20

01643-31032

WASHER

SN: A53001--UP

1шт.

21

08034-40521

BAND

SN: A53001--UP

1шт.

22

423-S33-4121

BRACKET

SN: A53001--UP

1шт.

23

427-03-10370

SPACER

SN: A53001--UP

1шт.

24

08193-21012

CLIP

SN: A53001--UP

1шт.

25

01010-81060

BOLT

SN: A53001--UP

1шт.

26

01643-31032

WASHER

SN: A53001--UP

1шт.

27

01010-81025

BOLT

SN: A53001--UP

1шт.

28

01643-31032

WASHER

SN: A53001--UP

1шт.

29

423-S33-4260

SHEET (BONDED)

SN: A53001--UP

1шт.

30

423-S33-4270

SHEET (BONDED)

SN: A53001--UP

1шт.

31

421-57-31190

SHIM, O.5 MM

SN: A53001--UP

8шт.

Выбрано товаров: 0