Запчасти Komatsu WA380-6 K-A OPERATOR СИДЕНЬЕ ВОЗД. ПОДВЕСКА КРЕПЛЕНИЕ OPERATORXD S ОБСТАНОВКА И СИСТЕМА УПРАВЛЕНИЯ

Схема запчастей Komatsu WA380-6 - K-A OPERATOR СИДЕНЬЕ ВОЗД. ПОДВЕСКА КРЕПЛЕНИЕ OPERATORXD S ОБСТАНОВКА И СИСТЕМА УПРАВЛЕНИЯ
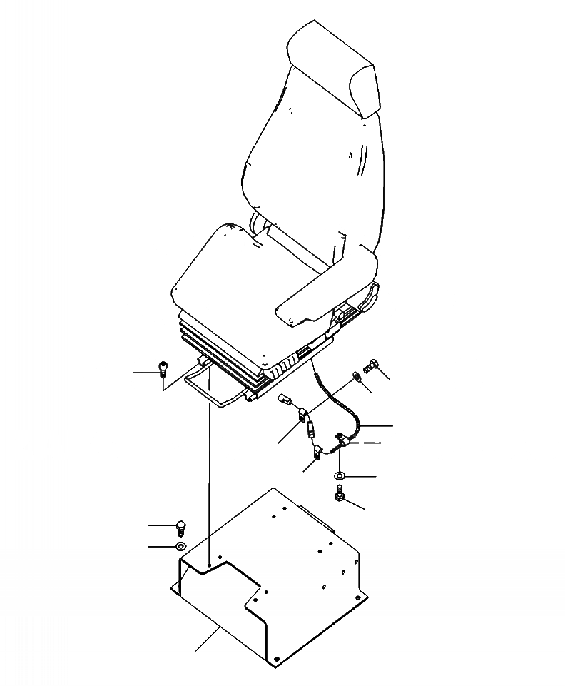
2
6
7
11
8
5
10
5
9
3
4
1
FIT
1:1
100%

Артикул

Название

Примечание

Количество

1

423-54-42512

BRACKET

SN: A53001--UP

1шт.

2

01252-70820

BOLT

SN: A53001--UP

4шт.

3

01010-81230

BOLT

SN: A53001--UP

4шт.

4

01643-31232

WASHER

SN: A53001--UP

4шт.

5

04434-51012

CLIP

SN: A53001--UP

2шт.

6

01010-81020

BOLT

SN: A53001--UP

2шт.

7

01643-31032

WASHER

SN: A53001--UP

2шт.

8

04434-51412

CLIP

SN: A53001--UP

1шт.

9

01010-81016

BOLT

SN: A53001--UP

1шт.

10

01643-31032

WASHER

SN: A53001--UP

1шт.

11

08017-C1001

CONDUIT

SN: A53001--UP

1шт.

Выбрано товаров: 11