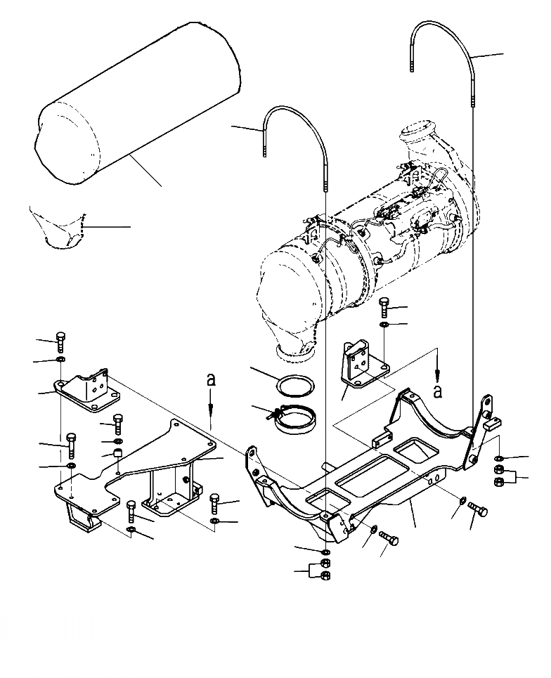
Запчасти Komatsu WA380-7 A8-AA KOMATSU DIESEL ЧАСТЬICULATE ФИЛЬТР. (KDPF) КРЕПЛЕНИЕ (/) ДВИГАТЕЛЬ

Схема запчастей Komatsu WA380-7 - A8-AA KOMATSU DIESEL ЧАСТЬICULATE ФИЛЬТР. (KDPF) КРЕПЛЕНИЕ (/) ДВИГАТЕЛЬ
1
1
23
24
10
11
10
11
18
5
19
6
21
22
16
2
9
20
17
3
12
13
14
8
4
7
15
2
8
7
3
FIT
1:1
100%

Артикул

Название

Примечание

Количество

1

2A5-01-11412

BOLT

2шт.

2

01643-A1032

WASHER, FLAT

4шт.

3

01581-01008

NUT

8шт.

4

423-01-51213

BRACKET

1шт.

5

423-01-51230

BRACKET

1шт.

6

423-01-51240

BRACKET

1шт.

7

01010-E1035

BOLT

8шт.

8

01643-A1032

WASHER, FLAT

8шт.

9

423-01-51220

BRACKET

1шт.

10

01010-81035

BOLT

6шт.

11

201-54-72910

WASHER

6шт.

12

01010-81030

BOLT

3шт.

13

01643-31032

WASHER

3шт.

14

01010-81045

BOLT

2шт.

15

01643-31032

WASHER

2шт.

16

01010-E1090

BOLT

1шт.

17

01643-A1032

WASHER, FLAT

1шт.

18

6520-91-1030

GASKET

1шт.

19

6520-91-1020

CLAMP

1шт.

20

600-051-6120

CLIP

1шт.

21

01010-E1025

BOLT

1шт.

22

01643-A1032

WASHER, FLAT

1шт.

23

423-54-53330

COVER, HEAT SHIELD

1шт.

24

423-54-53340

SHEET, HEAT SHIELD

1шт.

Выбрано товаров: 24