Запчасти Komatsu WA380-7 K-A ПОЛ СУППОРТ OPERATORXD S ОБСТАНОВКА И СИСТЕМА УПРАВЛЕНИЯ

Схема запчастей Komatsu WA380-7 - K-A ПОЛ СУППОРТ OPERATORXD S ОБСТАНОВКА И СИСТЕМА УПРАВЛЕНИЯ
6
7
6
7
6
7
16
6
7
16
1
5
4
17
1
4
5
18
19
20
17
18
19
20
1
2
3
17
18
19
20
1
2
3
17
18
19
20
8
9
10
11
12
13
14
15
8
9
10
11
12
13
14
15
8
9
10
11
12
13
14
15
8
9
10
11
12
13
14
15
FIT
1:1
100%

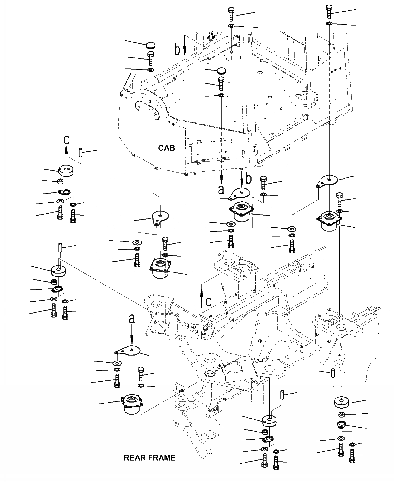
Артикул

Название

Примечание

Количество

1

423-54-53111

VISCOUS MOUNT

4шт.

2

01010-81235

BOLT

8шт.

3

01643-31232

WASHER

8шт.

4

01010-81280

BOLT

8шт.

5

01643-31232

WASHER

8шт.

6

01643-32060

WASHER

4шт.

7

01010-82045

BOLT

4шт.

8

423-926-5970

PLATE

4шт.

9

423-926-5980

PLATE

4шт.

10

423-926-5140

COLLAR

4шт.

11

203-54-56970

WASHER

4шт.

12

01010-81030

BOLT

4шт.

13

01643-33080

WASHER

4шт.

14

01010-83090

BOLT

4шт.

15

04020-01024

PIN, DOWEL

4шт.

16

09415-05022

CAP

2шт.

17

423-54-53131

SPACER

4шт.

18

01643-31032

WASHER

4шт.

19

01010-80820

BOLT

4шт.

20

01643-30823

WASHER

4шт.

Выбрано товаров: 20