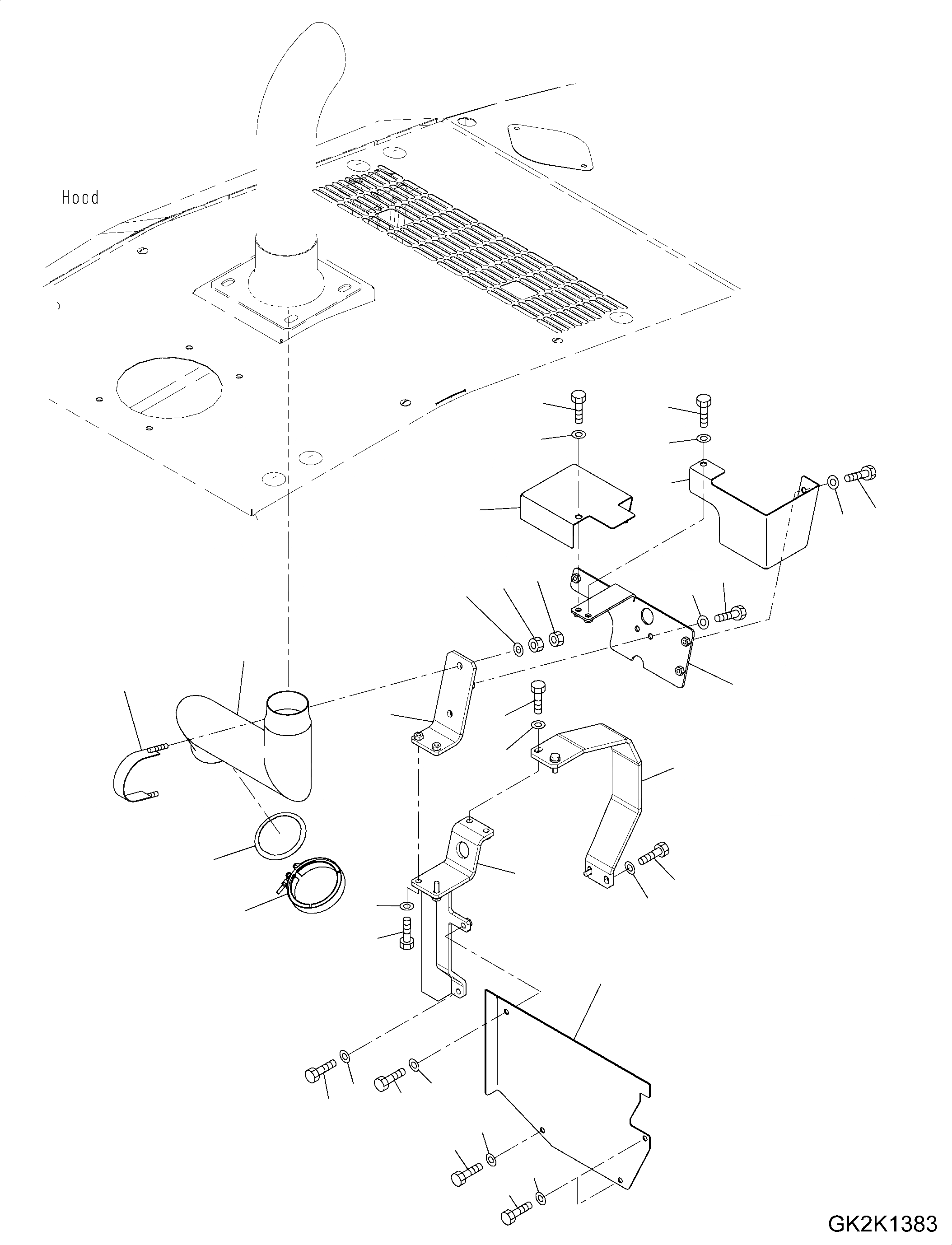
Запчасти Komatsu WA380-7 КОМПОНЕНТЫ ДВИГАТЕЛЯ, KOMATSU DIESEL ЧАСТЬICULATE ФИЛЬТР. (KDPF) КРЕПЛЕНИЕ КОМПОНЕНТЫ ДВИГАТЕЛЯ

Схема запчастей Komatsu WA380-7 - КОМПОНЕНТЫ ДВИГАТЕЛЯ, KOMATSU DIESEL ЧАСТЬICULATE ФИЛЬТР. (KDPF) КРЕПЛЕНИЕ КОМПОНЕНТЫ ДВИГАТЕЛЯ
21
21
22
22
25
23
21
22
13
21
13
22
14
15
12
24
4
10
11
7
26
1
8
6
27
9
5
16
20
3
19
18
2
17
20
19
FIT
1:1
100%

Артикул

Название

Примечание

Количество

1

423-02-51133

Bracket

SN: H62051-UP

1шт.

2

01010-81025

Bolt

SN: H62051-UP

2шт.

3

01643-31032

Washer

SN: H62051-UP

2шт.

4

423-02-51180

Bracket

SN: H62051-UP

1шт.

5

01016-51035

Bolt

SN: H62051-UP

2шт.

6

01643-31032

Washer

SN: H62051-UP

2шт.

7

423-02-51170

Bracket

SN: H62051-UP

1шт.

8

01010-81025

Bolt

SN: H62051-UP

2шт.

9

01643-31032

Washer

SN: H62051-UP

2шт.

10

01016-51035

Bolt

SN: H62051-UP

2шт.

11

01643-31032

Washer

SN: H62051-UP

2шт.

12

423-02-51160

Band

SN: H62051-UP

1шт.

13

01580-11008

Nut

SN: H62051-UP

4шт.

14

01643-31032

Washer

SN: H62051-UP

2шт.

15

423-02-51121

Tube

SN: H62051-UP

1шт.

16

423-01-52211

Cover

SN: H62051-UP

1шт.

17

01010-81020

Bolt

SN: H62051-UP

1шт.

18

01643-31032

Washer

SN: H62051-UP

1шт.

19

01010-81025

Bolt

SN: H62051-UP

3шт.

20

01643-31032

Washer

SN: H62051-UP

3шт.

21

01010-81020

Bolt

SN: H62051-UP

8шт.

22

01643-31032

Washer

SN: H62051-UP

8шт.

23

423-01-52331

Cover

SN: H62051-UP

1шт.

24

423-01-52311

Bracket

SN: H62051-UP

1шт.

25

423-01-52321

Cover

SN: H62051-UP

1шт.

26

6520-91-1030

Gasket

SN: H62051-UP

1шт.

27

6520-91-1020

Clamp

SN: H62051-UP

1шт.

Выбрано товаров: 27